EasyManua.ls Logo

VEVOR TK-12MT - Exploded View and Parts List

VEVOR TK-12MT
8 pages
Print Icon
To Next Page IconTo Next Page
To Next Page IconTo Next Page
To Previous Page IconTo Previous Page
To Previous Page IconTo Previous Page
Loading...
- 5 -
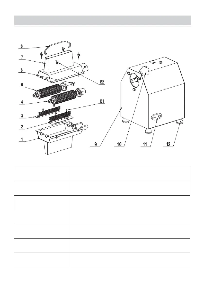
EXPLODED VIEW AND PARTS LIST
NO
DESCRIPTION
1
Under cover
2
Meat comb 34TH
3
Meat comb 35TH
4
Knife set 1
5
Knife set 2
6
Bushing

Related product manuals