EasyManua.ls Logo

Viessmann kibri 36738 - Final Assembly and Details; Roof and Support Structures; Base and Ancillary Parts

Viessmann kibri 36738
5 pages
Print Icon
To Previous Page IconTo Previous Page
To Previous Page IconTo Previous Page
Loading...
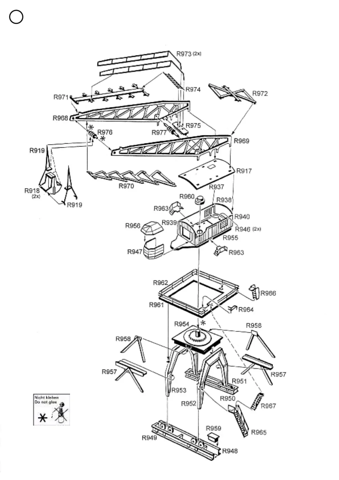
4
86847/36738
Alternativ
alternative
Tipp:
Möchten Sie das Modell von innen beleuchten, verwenden Sie bitte die Viessmann Art.-Nr. 6832 Hausbeleuchtungssockel mit Glühlampe E5,5, klar.
Tip:
If you wish to illuminate the complete model from inside, please use Viessmann item-No. 6832 House illumination socket with bulb E5,5, clear.
Tipp:
Möchten Sie das Modell von innen beleuchten, verwenden Sie bitte die Viessmann Art.-Nr. 6832 Hausbeleuchtungssockel mit Glühlampe E5,5, klar.
Möchten Sie die Fenster einzeln und individuell beleuchten, so empfehlen wir das Startset Etageninnenbeleuchtung Art.-Nr. 6045 von Viessmann.
Siehe Produkthinweis auf der letzten Seite.
Tip:
If you wish to illuminate the complete model from inside, please use Viessmann item-No. 6832 House illumination socket with bulb E5,5, clear.
For detailed illumination of each window and room, please use Viessmann starter floor interior lighting item-No. 6045.
See product information on the last page.
Faden 1 (400 cm / 157”)
string
Einbau der Hausinnenbeleuchtung
Mounting of the house illumination
Faden
string
Nur beim Transport
only for transport
Nur in Arbeitsstellung
only by working position
Dekoration variabel
decoration variable
Alternativer Aufbau
alternative mounting
Aufbauvariante 1
alternative construction 1
4

Related product manuals