EasyManua.ls Logo

Viessmann Vitocal 200-A - Page 227

Viessmann Vitocal 200-A
236 pages
Print Icon
To Next Page IconTo Next Page
To Next Page IconTo Next Page
To Previous Page IconTo Previous Page
To Previous Page IconTo Previous Page
Loading...
145
2
Low voltage
VTS M2
73
F12
F8
VTS
7
1
2
145
LON
98
121 / 122 / 123
145
8
2
1
145
KM BUS distributor
HC A1/M2/M3
91
99
/
120
/ 124 / 125
F6
STS
32
PT500
F0
ATS
3
Ni500
Ni500
PT500
F4
PTS
61
PT500
VTS
62
F13
PT500
2
HC M3
230 V, 50 Hz
40
40A
145
3
4
20
52
2
1
2
VTS M3
1
2
q-E
q-U
q-T
L
N
N
L
UP M3
M
1~
q-Z
M3
145
71
/
/
101
KTS
53
F20
PT500
1
3
2
1
3
2
1
3
2
L
N
N
M
1~
1
3
2
ID: 4605059_1304_06
Vitocal 300-A/350-A
(cont.)
232
VIESMANN
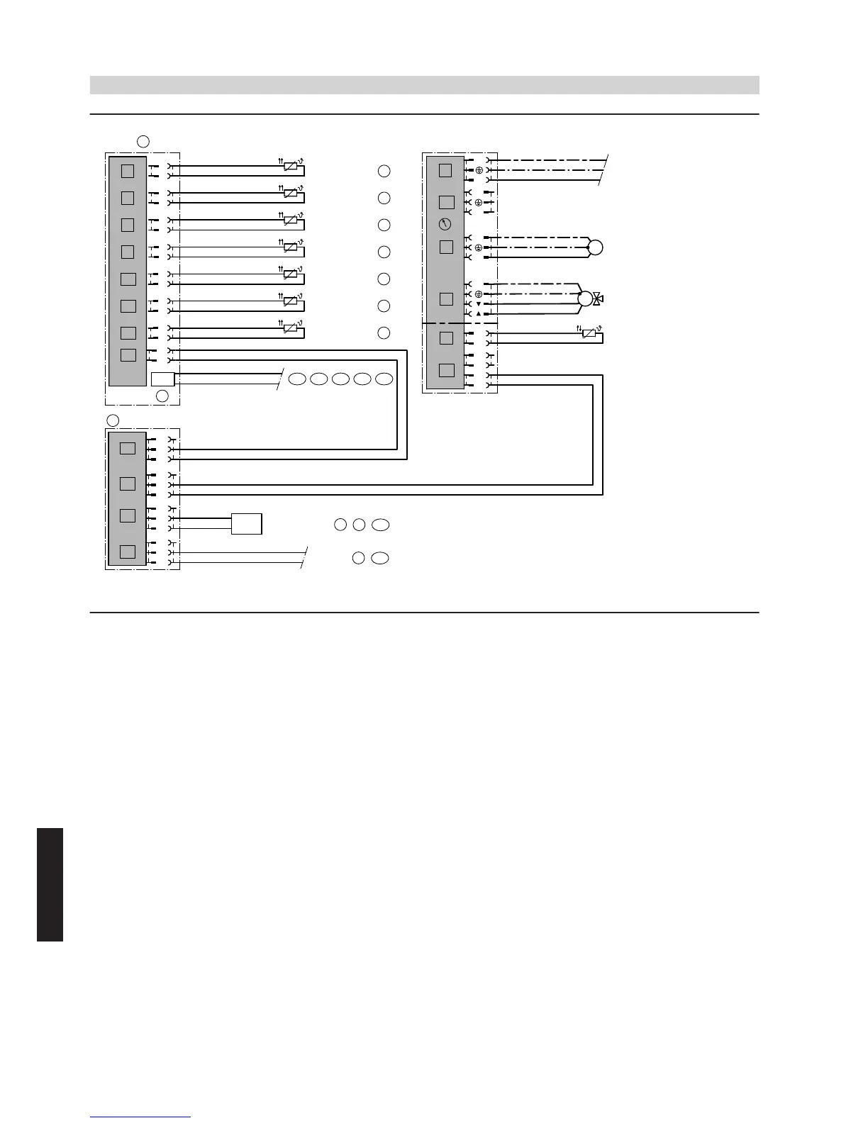
System examples
7
5822 472 GB

Other manuals for Viessmann Vitocal 200-A

Related product manuals