EasyManua.ls Logo

Viewpia LC-32IC10 - Page 48

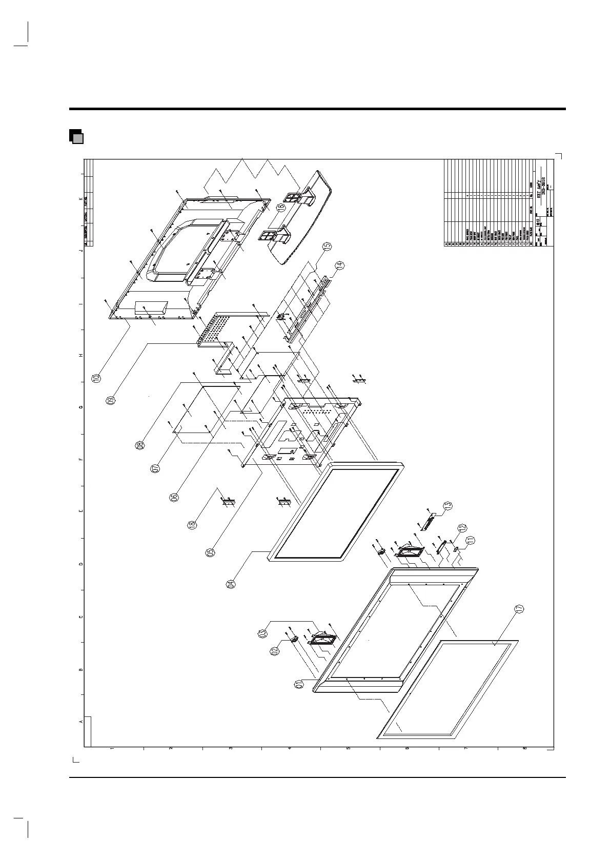
Viewpia LC-32IC10
68 pages
Print Icon
To Next Page IconTo Next Page
To Next Page IconTo Next Page
To Previous Page IconTo Previous Page
To Previous Page IconTo Previous Page
Loading...
48
LC-32IE21