EasyManua.ls Logo

Viewpia LC-32IC10 - Page 9

Viewpia LC-32IC10
68 pages
Print Icon
To Next Page IconTo Next Page
To Next Page IconTo Next Page
To Previous Page IconTo Previous Page
To Previous Page IconTo Previous Page
Loading...
9
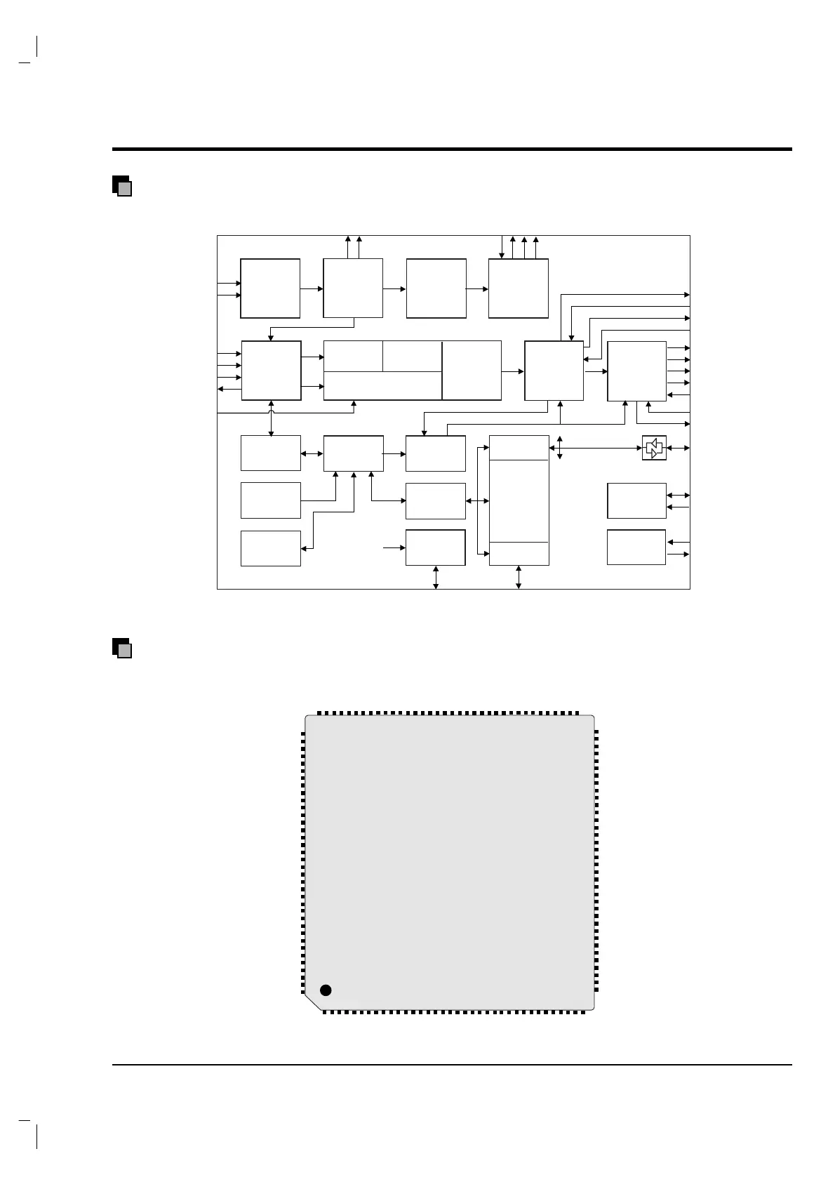
IC BLOCK DIAGRAM (VCT49xy I)
IFIN+
IFIN-
IF
Frontend
IF
Frocessor
Sound
Demodulator
Audio
Processor
Video
Frontend
Slicer
Bus
Arbiter
Display
Generator
CPU
8051
Memory
Interface
12C Master/
Slave
I/O-Ports
Timer
CRT
PWM
ADC
UART
Watchdog
RTC
ADB, DB, PSENQ,
PSWEQ, WRQ, RDQ
Pxy
256kB
Prog ROM
24kB
Char ROM
20kB XRAM
Comb
Filter
Color
Decoder
Component
Interface
Panorama
Scaler
Display &
Deflection
Processor
CVBS in
TAGC
SIF
AIN
AOUT
SPEAKER
SUBW
656 out
PROT
HCUT
HFLB
VERT
EW
SVM
RGB out
RGB in
SENSE
RSW
I2C
RESETQ
TEST
XTAL1
XTAL2
YCvCr in
RGB in
CVBS out
656 in
Reset & Test
Logic
Clock
Generator
Video
Backend
IC PIC OUT (VCT49xyI)
VCT 49xyl, VCT 48xy1 XM
VSSE
IFIN-
VREFIF
TAGC
AIN1R/SIF
AIN1L
AIN2R
AIN2L
AIN3L
AOUT2R
AOUT2L
AOUT1L
SPEAKERR
SPEAKERL
VREFAU
VSUP8.QAU
SENSE
RIN
GIN
ROUT
GOUT
SVMOUT
BIN
FBIN
GNDM
RSW1
RSW2
EW
VERT-
VERT+
TEST/SUBW
VSUP5.0BE
GND
GND
AOUT1R
AIN3R
109
110
111
112
113
114
115
116
117
118
119
120
121
122
123
124
125
126
127
128
129
130
131
132
133
134
135
136
137
138
139
140
141
142
143
144
P36/656IO6
P37/656IO7
VIN11
VIN10
VIN9
VIN8
VIN7
VIN6
VIN4
VIN3
VIN2
VOU1
VOU2
VOU3
VSUP1.8FE
VSUP3.3FE
P16
P21
SCL
DFVBL/FELD
PWMV/FBOUT
SDA
P20
P17
P15
P14
P13
P12
P11
P10
EXTIFQ
XROMQ
GND
GND
VIN1
VIN5
72
71
70
69
68
67
66
65
64
63
62
61
60
59
58
57
56
55
54
53
52
51
50
49
48
47
46
45
44
43
42
41
40
39
38
37
108
107
106
105
104
103
102
101
100
99
98
97
96
95
94
93
92
91
90
89
88
87
86
85
84
83
82
81
80
79
78
77
76
75
74
73
1
2
3
4
5
6
7
8
9
10
11
12
13
14
15
16
17
18
19
20
21
22
23
24
25
26
27
28
29
30
31
32
33
34
35
36
BOUT
VRD
XREF
VSUP3.3BE
GND
GND
VSUP3.3.IO
VSUP3.3DAC
SAFETY
HFLB
HOUT
ADB11
ADB9
ADB3
ADB13
ADB14
ADB6
RDQ
WRQ
RSTQ
ALE
OCF
ADB19
ADB5
ADB4
ADB7
ADB12
ENEQ
STOPQ
ADB15
ADB16
ADB18
ADB17
PSWEQ
VPROT
GNDDAC
RESETQ
VSUP5.0FE
VSUP5.0IF
VSUP3.3DIG
GND
GND
VSUP1.8DIG
XTAL1
P22
P23
PSENQ
DB7
DB6
DB5
DB4
DB3
P26/656VIO
VSUP3.3EIO
GNDEIO
P35/656IO5
P34/656IO4
P33/656IO3
P32/656IO2
P30/656IO0
P31/656IO1
P25/656HIO
P24/656CLKIO
ADB3
ADB2
ADB1
ADB0
DB0
DB2
DB1
ADB10
XTAL2