EasyManua.ls Logo

ViewSonic PX706HD - Advanced Image Settings

ViewSonic PX706HD
76 pages
Print Icon
To Next Page IconTo Next Page
To Next Page IconTo Next Page
To Previous Page IconTo Previous Page
To Previous Page IconTo Previous Page
Loading...
25
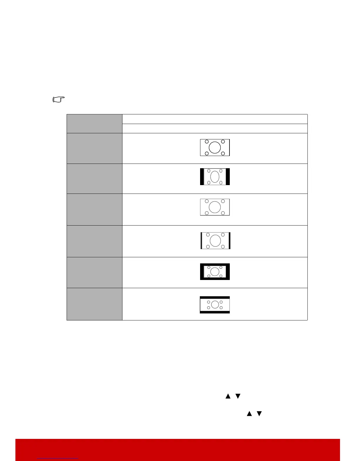
5. Native: Projects an image as its original resolution and resizes it to fit within the
display area. For input signals with lower resolutions, the projected image will be
displayed in its original size.
6. 2.35:1: Scales an image so that it is displayed in the center of the screen with a 2.35:1
aspect ratio without aspect alteration.
The table below demonstrates the effects of the aspect ratio settings on projectors with
different native resolutions. Please see "Projector specifications" on page 64 for the native
display resolution of your projector.
In the pictures below, the black portions are inactive areas and the white portions are active
areas. OSD menus can be displayed on those unused black areas.
Optimizing the image
Selecting a picture mode
The projector is preset with several predefined picture modes so that you can choose one to
suit your operating environment and input signal picture type.
To select an operation mode that suits your need, you can follow one of the following steps.
Press Color Mode to display the selection bar and press / to select a desired mode
or press Color Mode repeatedly.
•Go to the IMAGE > Color Mode menu and press Enter. Press / to select a
desired mode.
Aspect ratio setting
When the native aspect ratio of your projector is...
16:9
Auto
4:3
16:9
16:10
Native
2.35:1

Table of Contents

Related product manuals