EasyManua.ls Logo

Viking MT 5097 C - Cutting Height Adjustment Lever; Grass Catcher Box Emptying Lever

Viking MT 5097 C
290 pages
Print Icon
To Next Page IconTo Next Page
To Next Page IconTo Next Page
To Previous Page IconTo Previous Page
To Previous Page IconTo Previous Page
Loading...
ENES
25
PTEL
0478 192 9807 C - EN
Releasing the parking brake:
Briefly press on brake pedal (1) with the
foot.
The brake pedal returns to the initial
(unactuated) position. The parking
brake is deactivated and the rear
wheels are no longer blocked.
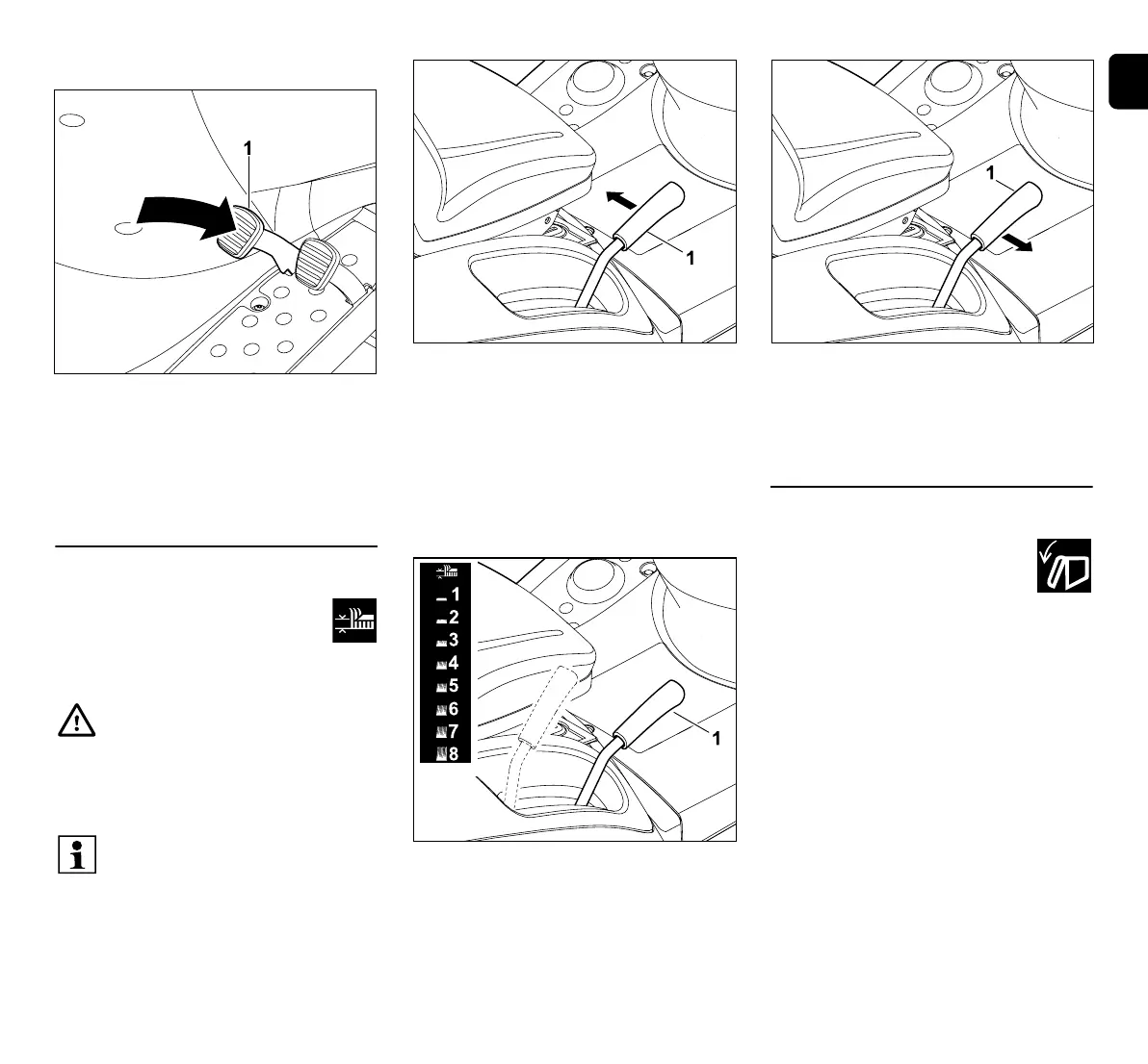
8.15 Cutting height adjustment lever
Eight cutting levels can be set
using the cutting height adjustment
lever.
Raising and lowering the mowing deck:
Releasing the cutting height adjustment
lever:
With the mowing deck installed Pull the
cutting height adjustment lever (1) inwards
(towards the driver's seat) and hold.
With the mowing deck removed Push
the cutting height adjustment lever (1)
slightly downwards and then inwards
(towards the driver's seat) and hold.
Guide the released cutting height
adjustment lever (1) upwards/downwards
and set the required cutting height.
Locking the cutting height adjustment
lever:
Guide the cutting height adjustment
lever (1) outwards until it engages in the
chosen notched position.
8.16 Grass catcher box emptying lever
The grass catcher box can be
emptied using the grass catcher
box emptying lever, without the
user having to leave the driver's
seat.
Disengage the mowing deck.
(Ö 8.5), (Ö 8.6)
Brake the machine to a complete
standstill.
Keep the brake pedal pressed or
engage the parking brake.
Risk of injury!
Always hold the cutting height
adjustment lever when adjusting
the cutting height.
Adjust the cutting height only when
the ride-on mower is at a standstill.
The procedure for releasing the
cutting height adjustment lever
depends on whether the mowing
deck is installed or removed.

Table of Contents