EasyManua.ls Logo

Viking MT 5097 - Llave de Paso de Combustible; Controlar el Nivel de Llenado de Aceite de Motor; Cambiar el Aceite del Motor

Viking MT 5097
290 pages
Print Icon
To Next Page IconTo Next Page
To Next Page IconTo Next Page
To Previous Page IconTo Previous Page
To Previous Page IconTo Previous Page
Loading...
117
ENPTEL ES
0478 192 9807 C - ES
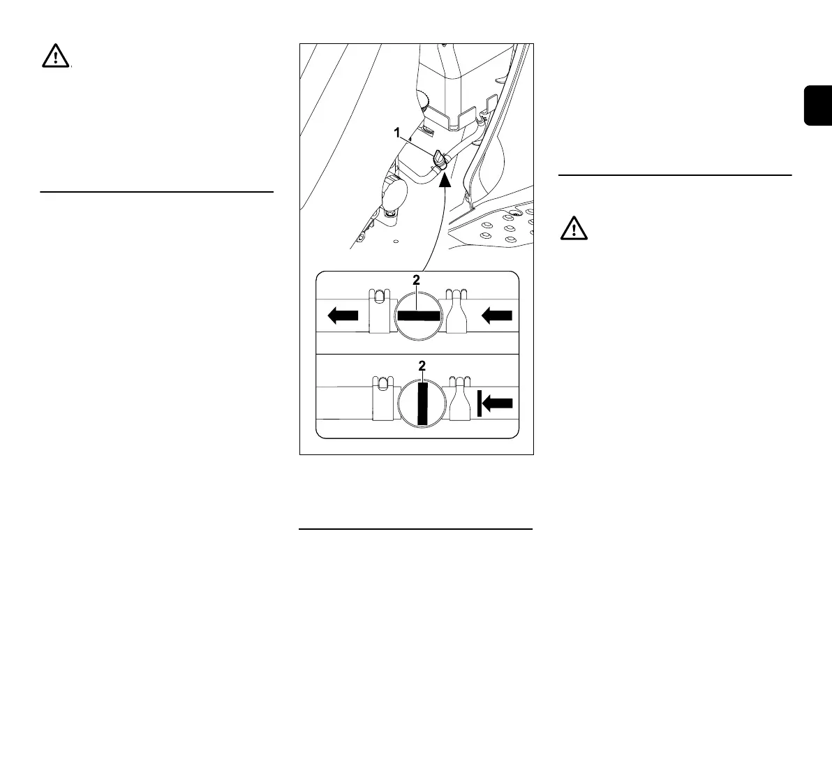
15.7 Llave de paso de combustible
Mediante la apertura o el cierre de la llave
de paso de combustible se abre o se
interrumpe el flujo de combustible a la
tubería de combustible.
La llave de paso de combustible se
encuentra a la izquierda debajo del
depósito de combustible.
Apagar el motor de
combustión. (Ö 13.3)
Accionar el freno de
estacionamiento. (Ö 8.14)
La llave de paso de combustible (1) se
abre o se cierra girando la válvula de
ajuste (2).
15.8 Controlar el nivel de llenado de
aceite de motor
Colocar el equipo sobre una superficie
lisa y recta.
Apagar el motor de combustión.
(Ö 13.3)
Accionar el freno de estacionamiento.
(Ö 8.14)
Dejar que el motor de combustión se
enfríe.
Abrir el capó del motor. (Ö 15.3)
Comprobar el nivel de llenado según el
Manual de instrucciones del motor de
combustión. En caso necesario,
rellenar aceite del motor. (Ö 15.10)
15.9 Cambiar el aceite del motor
La información sobre el aceite de motor
descrito y la cantidad de aceite se puede
consultar en el Manual de instrucciones
del motor de combustión.
Realizar el cambio de aceite con el motor
de combustión tibio. Colocar un recipiente
colector de aceite adecuado (tener en
cuenta la cantidad de aceite del motor)
bajo el tubo de purga de aceite del motor.
Eliminar el aceite usado de acuerdo con la
legislación vigente.
Intervalos de cambio de aceite:
Los intervalos recomendados para el
cambio de aceite se encuentran en el
Manual de instrucciones del motor de
combustión.
Purgar el aceite del motor:
Apague el motor de
combustión. (Ö 13.3)
Accione el freno de
estacionamiento. (Ö 8.14)
Retire la llave de contacto y guárdela
en un lugar seguro.
¡Advertencia!
El canal de expulsión forma parte
de las cubiertas protectoras. El
tractor cortacésped no debe
ponerse en servicio si el canal de
expulsión está dañado.
Al montar el canal de expulsión,
procure que el conmutador de
contacto (3) esté accionado.
¡Peligro de lesiones!
Antes de rellenar el aceite del
motor o antes de cambiarlo, dejar
que se enfríe el motor de
combustión.
Peligro de quemaduras por la
elevada temperatura del motor.

Table of Contents

Related product manuals