EasyManua.ls Logo

Viper 500.4 - Speaker Wiring Diagrams

Viper 500.4
16 pages
Print Icon
To Next Page IconTo Next Page
To Next Page IconTo Next Page
To Previous Page IconTo Previous Page
To Previous Page IconTo Previous Page
Loading...
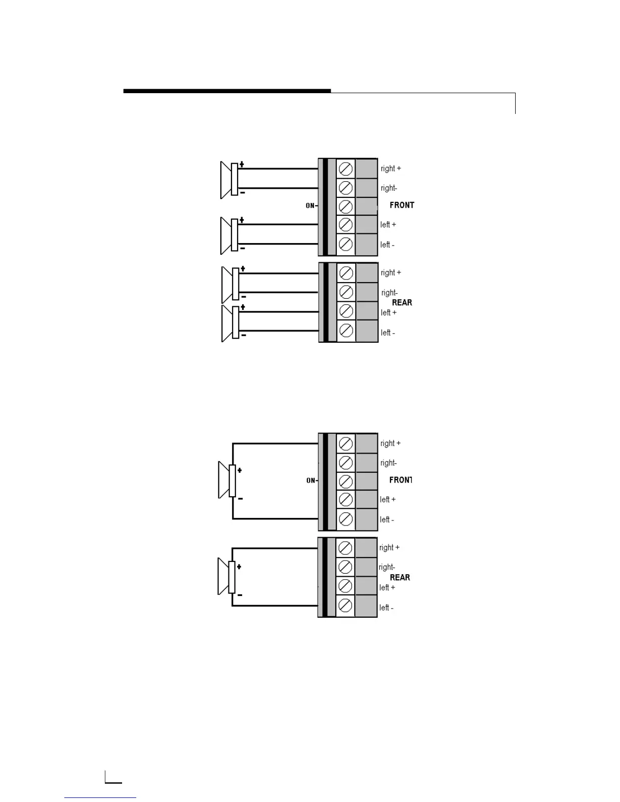
SPEAKER WIRING DIAGRAMS
12
© 2002 Directed Electronics, Inc
Stereo Operation (bottom view four channel shown)
Bridged operation (bottom view two channel shown)
NNOOTTEE::
For bridged two-channel operation as shown below, connect the right channel RCA cables to the Front inputs of the
amplifier, and left channel RCA cables to the rear inputs of the amplifier. For summed subwoofer applications, connect
the RCA cables per the input jack marking.