EasyManua.ls Logo

Vivotek IP8336W - Front Panel; Back Panel; Physical Description

Vivotek IP8336W
12 pages
Print Icon
To Next Page IconTo Next Page
To Next Page IconTo Next Page
To Previous Page IconTo Previous Page
To Previous Page IconTo Previous Page
Loading...
EN - 3
English
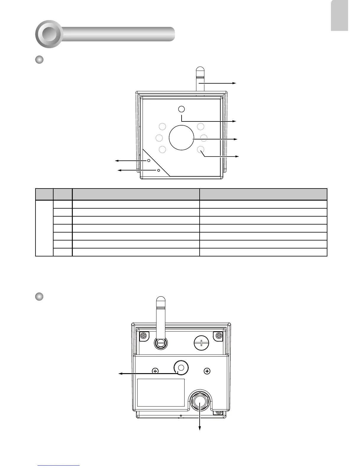
Physical Description
2
Front Panel
Status LED
Lens
Microphone
Item LED status Description
LED Definitions
1 Steady Red Powered and system booting, or network failed
2 Blue LED blinks every 0.15 sec. Searching for WPS
3 Green LED blinks every 1 sec. Network connected to an AP
4 Green and RED blink consecutively every 0.15 sec. Upgrading firmware
5 Steady Blue Operating in camera default AP mode
6 Orange blinks every 0.15 sec. Restoring defaults
7 All LED off Powered off
Light Sensor
Antenna
Back Panel
Mounting Hole
Power and I/O Combo Cable
IR LEDs behind panel

Other manuals for Vivotek IP8336W

Related product manuals