EasyManua.ls Logo

Vivotek VS8100 - Physical Description

Vivotek VS8100
187 pages
Print Icon
To Next Page IconTo Next Page
To Next Page IconTo Next Page
To Previous Page IconTo Previous Page
To Previous Page IconTo Previous Page
Loading...
VIVOTEK
User's Manual - 5
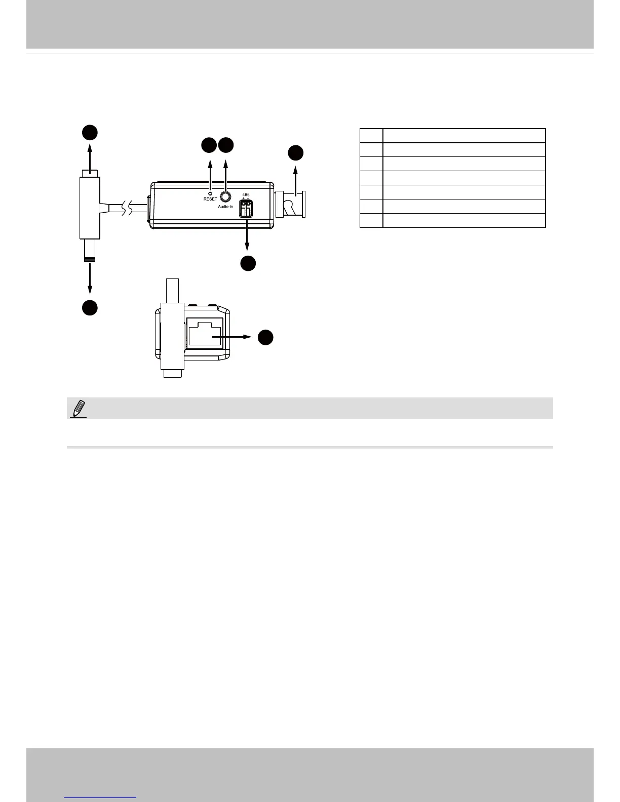
Physical Description
1 BNC input (male)
2 DC 12V output (to camera)
3 DC 12V input (to power source)
4 Reset button
5 Audio input phonejack
6 RS485
7 RJ-45 Ethernet connector
1
2
3
4 5
6
7
RS
NOTE:
The video server consumes approximately 12V
@
0.15A = 1.8W power.

Related product manuals