EasyManua.ls Logo

Volvo EC200D - Page 38

Volvo EC200D
252 pages
Print Icon
To Next Page IconTo Next Page
To Next Page IconTo Next Page
To Previous Page IconTo Previous Page
To Previous Page IconTo Previous Page
Loading...
M
M
a
a
i
i
n
n
m
m
e
e
n
n
u
u
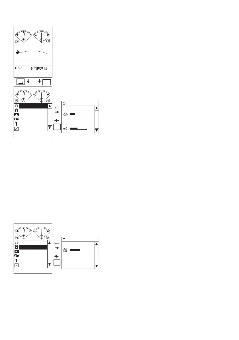
The main menu is reached by pressing the SELECT
button on the keypad.
Scroll the list by using the arrow buttons on the
keypad. When a folder is highlighted, its sub
screens are shown when pressing the SELECT
button. Use the arrow buttons to scroll between the
sub screens. Interrupt the action at any time by
pressing the ESC button on the keypad.
S
S
u
u
b
b
s
s
c
c
r
r
e
e
e
e
n
n
s
s
1E
E
n
n
g
g
i
i
n
n
e
e
-O
O
i
i
l
l
p
p
r
r
e
e
s
s
s
s
u
u
r
r
e
e
: This shows the measured value
of the engine oil pressure. When the bar graph
is green, the value is ok, within normal
operation range. When the bar graph is red, the
value is abnormal.
-O
O
i
i
l
l
l
l
e
e
v
v
e
e
l
l
: This shows the measured value of the
engine oil level. When the bar graph is green,
the value is ok, within normal operation range.
When the bar graph is yellow, the value is
abnormal.
2H
H
y
y
d
d
r
r
a
a
u
u
l
l
i
i
c
c
s
s
-O
O
i
i
l
l
t
t
e
e
m
m
p
p
e
e
r
r
a
a
t
t
u
u
r
r
e
e
: This shows the measured
value of hydraulic oil temperature. When the
bar graph is green, the value is ok, within
normal operation range. When the bar graph is
red, the value is abnormal.
-H
H
a
a
m
m
m
m
e
e
r
r
o
o
p
p
.
.
h
h
o
o
u
u
r
r
s
s
(
(
n
n
o
o
t
t
a
a
p
p
p
p
l
l
i
i
c
c
a
a
b
b
l
l
e
e
)
)
V1065498
SELECT
ESC
SELECT
ESC
805 rpm
I
F
G
H
P
240L
AC
FLOW
CLIMAT E
AUTO
F
C
F
C
Hydraulics
Electrical system
Vehicle information
Service
Setup
Engine
Engine
Oil Pressure
Oil Level
0
Lo
Hi
V1065499
F
C
Hydraulics
Electrical system
Vehicle information
Service
Setup
Engine
Hydraulics
Oil Temperature
Hammer op. hours
Hi
SELECT
ESC
14h
3
3
6
6
I
I
n
n
s
s
t
t
r
r
u
u
m
m
e
e
n
n
t
t
p
p
a
a
n
n
e
e
l
l
s
s
D
D
i
i
s
s
p
p
l
l
a
a
y
y
u
u
n
n
i
i
t
t

Related product manuals