EasyManua.ls Logo

VPC ICON - DETAILED PCB LAYOUT DIAGRAMS

Default Icon
24 pages
Print Icon
To Next Page IconTo Next Page
To Next Page IconTo Next Page
To Previous Page IconTo Previous Page
To Previous Page IconTo Previous Page
Loading...
ICON USER’S MANUAL: SECTION 8 VIRGINIA PANEL CORPORATION
8-4 For the most current information available, visit www.vpc.com.
6/7/18
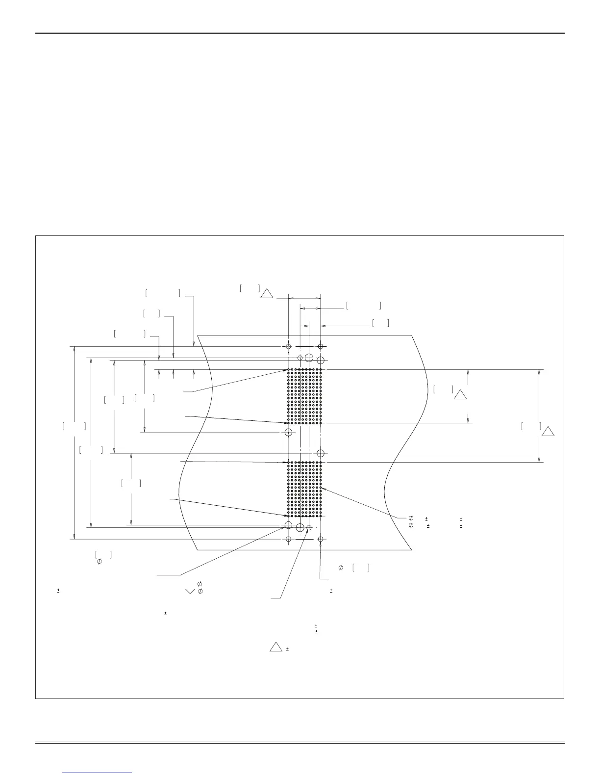
PCB layout for the iCon Receiver, Part # 310 123 101 loaded with two 510 160 105 modules.
Thru hole and pad diameters are for VPC QuadraPaddle Adapter Contact, Part #610 138 117.
The size of these holes may be different if a header from a different manufacturer is used.
Also shown are optional clearance holes.
VPC modules/pin mount this side.
38.10
1.500
1
15 EQUAL SPACES @.100
TYP. 2 PATTERNS
66.04
2.600
1
16.38±0.25
.645±.010
136.91
5.39
8.26
.325
22.86
.900
1
9 EQUAL SPACES @.100
TYP. 2 PATTERNS
8.26
.325
320X
037
.003 [0.094
0.08] PLATED THRU HOLE
.054 .003 [1.37
0.08] SOLDER PAD
4X
.14 3.43
THRU
CLEARANCE HOLES FOR
RECEIVER MOUNTING HARDWARE
.01 LOCATION TOLERANCE APPLIES
51.05
2.01
51.05
2.01
120.65
4.750
14.61±0.25
.575±.010
6.48±0.25
.255±.010
6X
5.08
.20
THRU
OPTIONAL CLEARANCE HOLES FOR ACCESS
TO MODULE MNTG SCREWS AND
KEYING PIN ACCESSORY SCREWS
.01 LOCATION TOLERANCE APPLIES
66.04
2.60
2X
.129 [3.26] THRU
.225 [5.72] X 82° FAR SIDE
PCB TO RECEIVER MOUNTING HOLES
USES TWO 4-40 FLATHEAD SCREWS
.005 LOCATION TOLERANCE APPLIES
PIN A1
PIN A1
RECOMMENDED PCB LAYOUT
CONNECTOR MOUNTS THIS SIDE
TOLERANCES ARE:
.XX=
[0.25] .01
.XXX=
[0.13] .005
UNLESS OTHERWISE SPECIFIED
1
.0021 LOCATION TOLERANCE
APPLIES TO PLATED THRU HOLES
PIN A16
PIN A16
PCB LAYOUT AND MOUNTING
SIGNAL MODULE, RECEIVER, QUADRAPADDLE, ICON, 160 POSITION,
FULLY LOADED WITH TWIN FEMALE CONTACTS • PART # 510 160 105