EasyManua.ls Logo

Wacker Neuson ST11 - Page 31

Wacker Neuson ST11
61 pages
Print Icon
To Next Page IconTo Next Page
To Next Page IconTo Next Page
To Previous Page IconTo Previous Page
To Previous Page IconTo Previous Page
Loading...
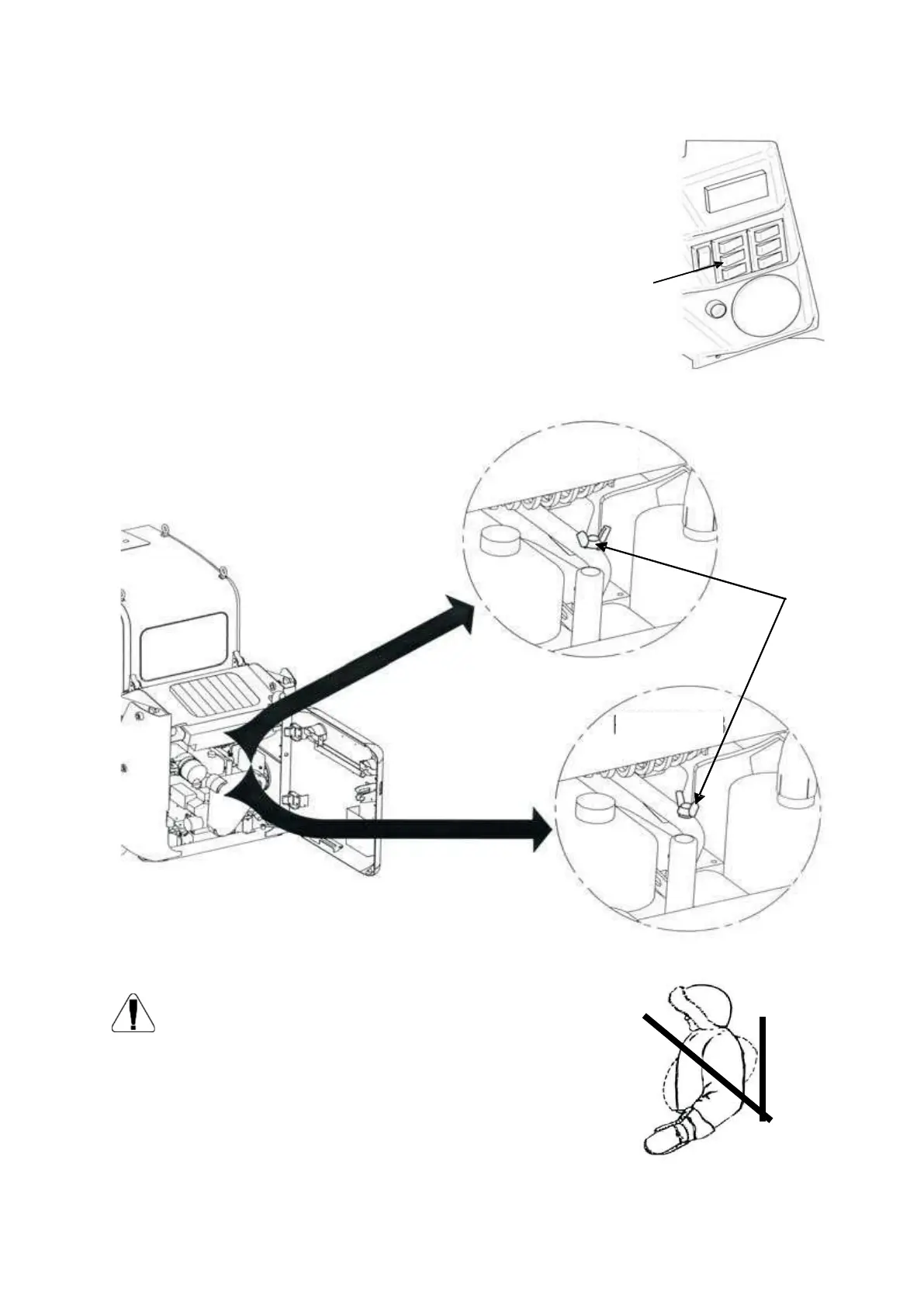
The cabin and driver’s position are adequatefor use in
normal climates; it is prohibitedto use the machine
with polar clothing
HEATING PLANT
Use the switch to control the two-speed fan in machines
equipped with the heating system (ref. 13). While for
functioning of the plant open tap “R” positioned above
the diesel engine, corresponding to thealternator.
POSITIONA: CLOSED
POSITIONB: OPEN
13
POSITION A
R
POSITION B
Page 31 of 61
Item – Rev(s): 8009641121– 101

Related product manuals