EasyManua.ls Logo

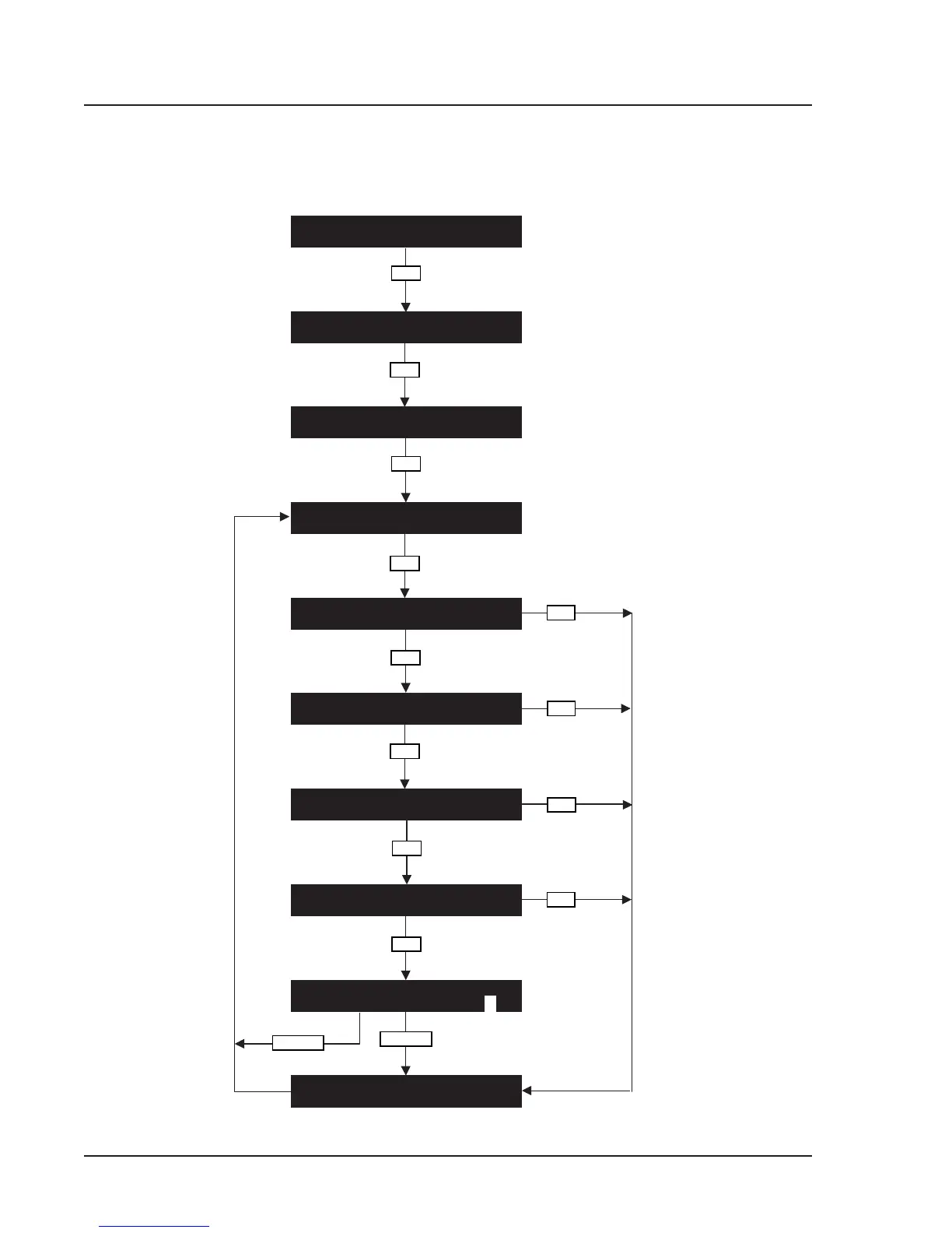
Wadia 861 - Wadia 861 Menu Screen Map

Wadia 861
21 pages
Print Icon
To Next Page IconTo Next Page
To Next Page IconTo Next Page
To Previous Page IconTo Previous Page
To Previous Page IconTo Previous Page
Loading...
14
Wadia 861 COMPACT DISC PLAYER
Eter
t
tr
er
t
Volume Screen
Balance Screen
Status Screen
Input Screen
Configuration Screens
Enter
Enter
Enter
Enter
Enter
Enter
Y + Enter
N + Enter
Mute
Mute
Mute
Mute
Enter
Enter
Input: CD Player
44.1 kHz
Configure
IN 1: CLOCKLINK ON
Configure
IN 2: CLOCKLINK ON
Configure
IN 3: CLOCKLINK ON
Configure
IN 3: CLOCKLINK ON
Configure
Save changes? y /n
Configuration Stored
Phase: Normal
Emphasis: No
Left Level Right
100.0 100.0
Left Level Right
100 1 0 0
WADIA 861 MENU SCREEN MAP
Configuration Screens
Operation Screens

Related product manuals