EasyManua.ls Logo

Waring TBB145 - Spécifications Techniques

Waring TBB145
40 pages
Print Icon
To Next Page IconTo Next Page
To Next Page IconTo Next Page
To Previous Page IconTo Previous Page
To Previous Page IconTo Previous Page
Loading...
27
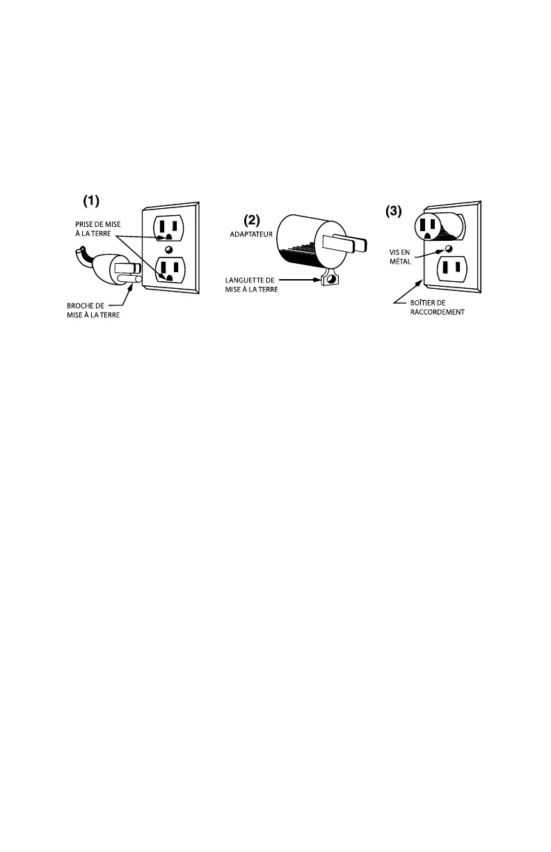
broches. Cette che doit être branchée dans une prise de terre
correctement congurée (Fig. 1).
Vous pouvez utiliser un adaptateur temporaire (Fig. 2) pour
brancher l’appareil dans une prise polarisée jusqu’à ce que vous
fassiez installer une prise de terre par un électricien.
An d'assurer la mise à la terre, la languette de l’adaptateur doit
être xée au boîtier par une vis en métal (Fig. 3).
ATTENTION: vérier que le boîtier est mis à la terre avant
d'utiliser l'adaptateur. En cas de doute, demander conseil à un
électricien.
Ne jamais utiliser un adaptateur, à moins qu'il ne soit
correctement mis à la terre.
REMARQUE: l’utilisation d’un adaptateur comme celui
mentionné ci-dessus est interdite au Canada.
SPÉCIFICATIONS TECHNIQUES:
• Capacité: 1.4L (48 onces)
• Spécications électriques: 120V, 60Hz, 13.0 Amp.
• Socle: polycarbonate
• Palier: palier à roulement à billes de haute précision
Cordon: 1.85 m (6 pieds), avec prise de terre et manchon
renforcé
• Hauteur: 43cm (17 po.)
• Certication cETLus et NSF
Cycle de fonctionnement:
1 minute de marche/3 minutes de repos
Contrôles:
TBB145 / TBB160 – LO (20500 tr/min), HI (24000 tr/min), PULSE
(24000 tr/min)
TBB175 – Vitesse variable de 1500 à 20000 tr/mn + PULSE
(24000 tr/min)

Related product manuals