EasyManua.ls Logo

WayFinder V2000 - CONTROLS AT A GLANCE; Buttons and Icons Explained

WayFinder V2000
16 pages
Print Icon
To Next Page IconTo Next Page
To Next Page IconTo Next Page
To Previous Page IconTo Previous Page
To Previous Page IconTo Previous Page
Loading...
4
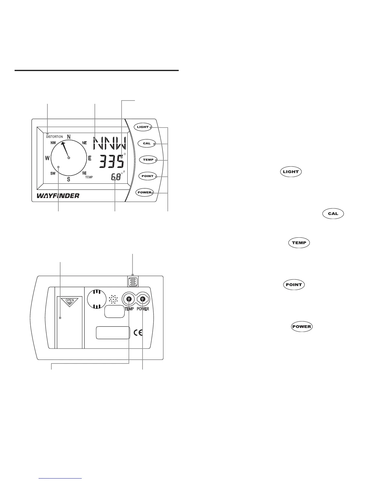
CONTROLS AT A GLANCE The screen shows your heading in
one of 16 cardinal points (N, NNE,
NE, etc.), and an arrow on the com-
pass rose points toward that direction.
Plus, your precise heading is shown
numerically in increments of 5°.
Buttons and icons
Light button: Press to switch the
backlight on or off, or hold for two sec-
onds to adjust the auto shut-off interval.
Cal button: Press or hold to
begin calibration.
Temp button: Press to display
the temperature, or hold to select
Fahrenheit or Celsius.
Point button: Press to display a
stored bearing point, or hold to store a
new bearing.
Power button: Press to switch
the Waynder V2000 on or off.
Distortionicon: Indicates that mag-
netic interference is compromising com-
pass accuracy, or that the battery has been
changed and calibration is required.
Battery Photo Diode
Compartment
Temperature 12-Volt Power
Sensor Jack AdapterJack
Compass Back
“DISTORTION” Cardinal Point Numeric Heading
Icon Readout Readout
Compass Rose Temperature and Buttons
Bearing Point Readout
Compass Front

Related product manuals