EasyManua.ls Logo

Weber 43028 - Manual Lighting

Weber 43028
20 pages
Print Icon
To Next Page IconTo Next Page
To Next Page IconTo Next Page
To Previous Page IconTo Previous Page
To Previous Page IconTo Previous Page
Loading...
17
OPERATING INSTRUCTIONS
MANUAL LIGHTING
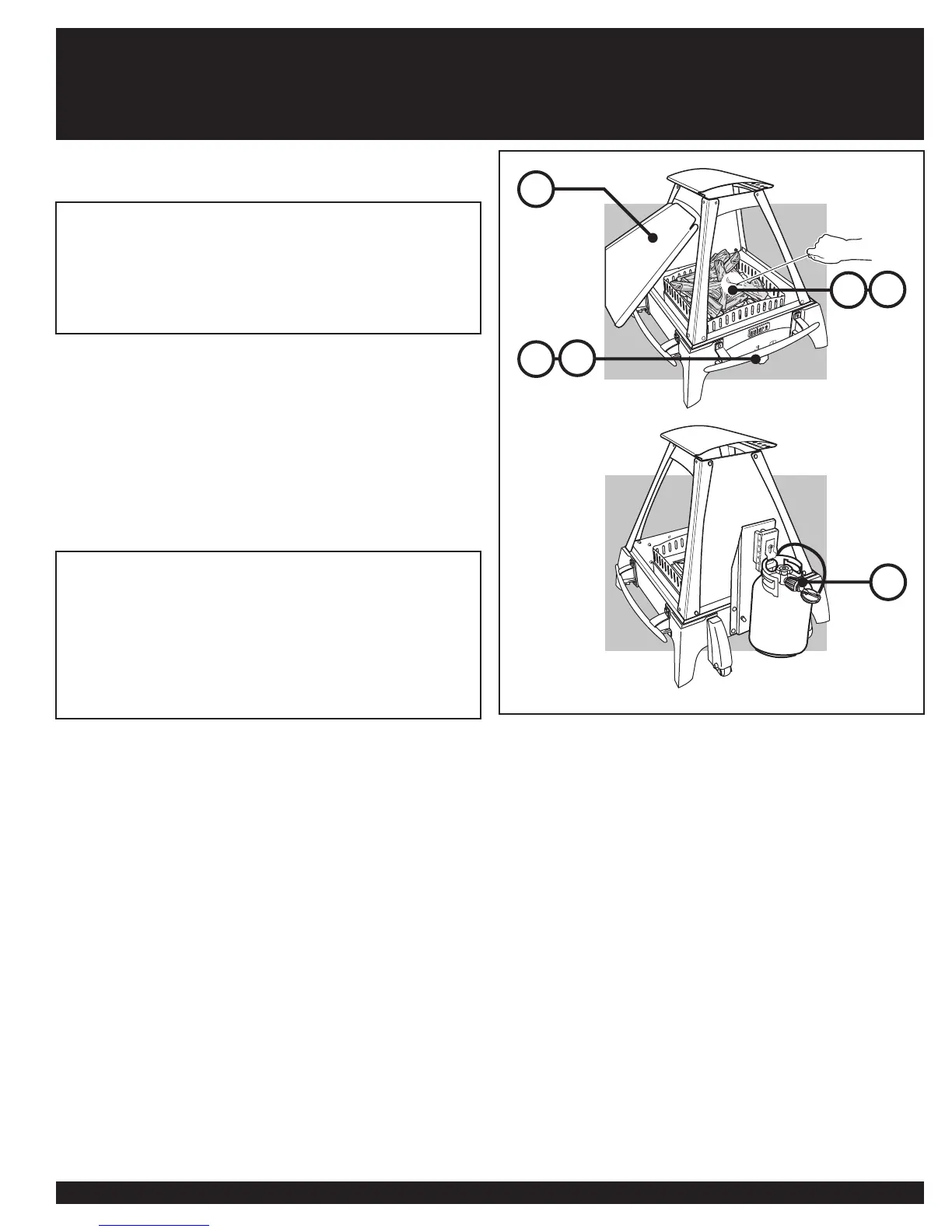
1) Remove the rain shields.
1.
2.
5.
4.
6.
3.
DANGER
Failure to remove rain shields while igniting the
replace’s burners, or not waiting 5 minutes to allow
the gas to clear if the fi replace does not light, may
result in an explosive fl ame-up which can cause
serious bodily injury or death.
2) Make sure the burner control knob is turned OFF. (Push knob down and
turn clockwise to ensure it is in the off position.)
WARNING: The burner control knob must be in the
OFF position before turning on the liquid propane
cylinder valve. If it is not in the OFF position, when
you turn on the LP cylinder valve, the “excess gas
ow control” feature will activate, limiting the fl ow
of gas from the LP cylinder. If this should occur, turn
OFF the LP tank valve and burner control knob. Then
start over.
DANGER
When the “excess gas fl ow control” feature is
activated, a small amount of gas is still fl owing to the
burner. After turning OFF the cylinder and burner
control knob, wait at least 5 minutes for the gas to
clear before attempting to light the fi replace. Failure to
do so may result in an explosive fl ame-up, which can
cause serious bodily injury or death.
3) Turn the cylinder on by turning the cylinder valve counterclockwise.
4) Insert match holder with lit match near the center of the burner area.
WARNING: Do not lean over open fi replace.
5) Push burner control knob down and turn to START/HI.
6) Make sure that the burner is lit.
WARNING: If the burner does not light, turn the burner
control knob to OFF and wait 5 minutes to let the gas
clear before you try again or try to light with a match.
Note: Normal burning pattern will develop light soot on log set. If heavy
sooting occurs, refer to troubleshooting.
TO EXTINGUISH
Push in the burner control knob and turn clockwise to the OFF posi-
tion. Turn gas supply OFF at the source. When unit has cooled, replace
rain shields.

Related product manuals