EasyManua.ls Logo

Wesco 272136 - Hydraulic System Part Information; Hydraulic System Parts Diagram

Wesco 272136
9 pages
Print Icon
To Next Page IconTo Next Page
To Next Page IconTo Next Page
To Previous Page IconTo Previous Page
To Previous Page IconTo Previous Page
Loading...
Page8of9
©Copyright2020WESCOIndustrialProducts,LLC.Specificationssubjecttochange.Notresponsibleforerrorsoromissions.

Standard Deluxe Pallet Truck
(Part # 272136, 272142, 272148, 272736, 272742, 272748)
Instruction Manual
ATTENTION: TO INSURE SAFE AND EASY USE OF YOUR WESCO PALLET
TRUCK, READ THESE INSTRUCTIONS ENTIRELY BEFORE USING.
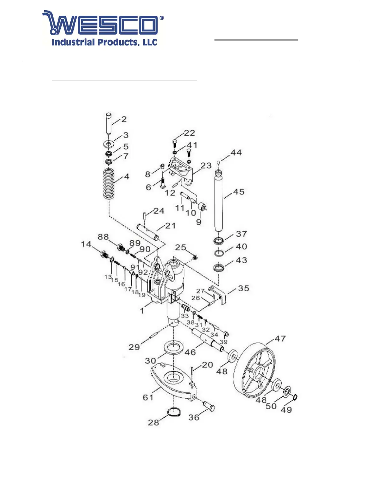
8. HYDRAULIC SYSTEM PART INFORMATION
8.1 HYDRAULIC SYSTEM PARTS DIAGRAM

Related product manuals