EasyManua.ls Logo

Westpoint 12K - Page 39

Default Icon
150 pages
Print Icon
To Next Page IconTo Next Page
To Next Page IconTo Next Page
To Previous Page IconTo Previous Page
To Previous Page IconTo Previous Page
Loading...
DC Inverter U-match Series Cassette Type Unit
28
Item
Model
Standard
Pipe Length
Unnecessary
Charge Pipe
Length
Additional Refrigerant
Amount for Extra Pipe
48K
7.5m ≤9.5m 35g/m48K
60K
2.2.6 Installation of Drain Pipe
(1) It is not allowed to connect the condensate drain pipe into waste pipe or
other pipelines which are likely to produce corrosive or peculiar smell to
prevent the smell from entering indoors or corrupt the unit.
(2) It is not allowed to connect the condensate drain pipe into rain pipe to
prevent rain water from pouring in and cause property loss or personal
injury.
(3) Condensate drain pipe should be connected into special drain system for
air conditioner.
2.2.6.1 Indoor Side Drainage Pipe
(1) Keep pipe size equal to or greater than that of the connecting pipe.
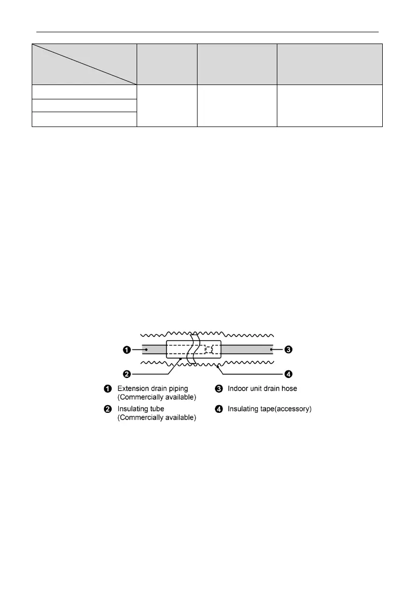
(2) Install the drain piping as shown and take measures against condensation.
(3) Keep piping as short as possible and slope it downwards at a gradient of at
least 1/100 so that air may not remain trapped inside the pipe.
(4) If the drain pipe cant be installed at a proper inclination, then add drain lift
pipe.
(5) In order to make sure the drain hose is straight, the hangers should keep a
distance of 1~1.5m from one another.