EasyManua.ls Logo

Westpoint 12K - Page 53

Default Icon
150 pages
Print Icon
To Next Page IconTo Next Page
To Next Page IconTo Next Page
To Previous Page IconTo Previous Page
To Previous Page IconTo Previous Page
Loading...
DC Inverter U-match Series Cassette Type Unit
42
WARNING!
(2) Match the terminal numbers and wire colors with the colors indicated in the
indoor unit.
(3) Wrong wire connection may burn the electrical components.
(4) Connect the wires firmly to the wiring box. Incomplete installation may lead to
fire hazard.
(5) Please use wire clamps to secure the external covers of connecting wires.
(Insulators must be clamped securely; otherwise, electric leakage may occur).
(6) Ground wire should be connected.
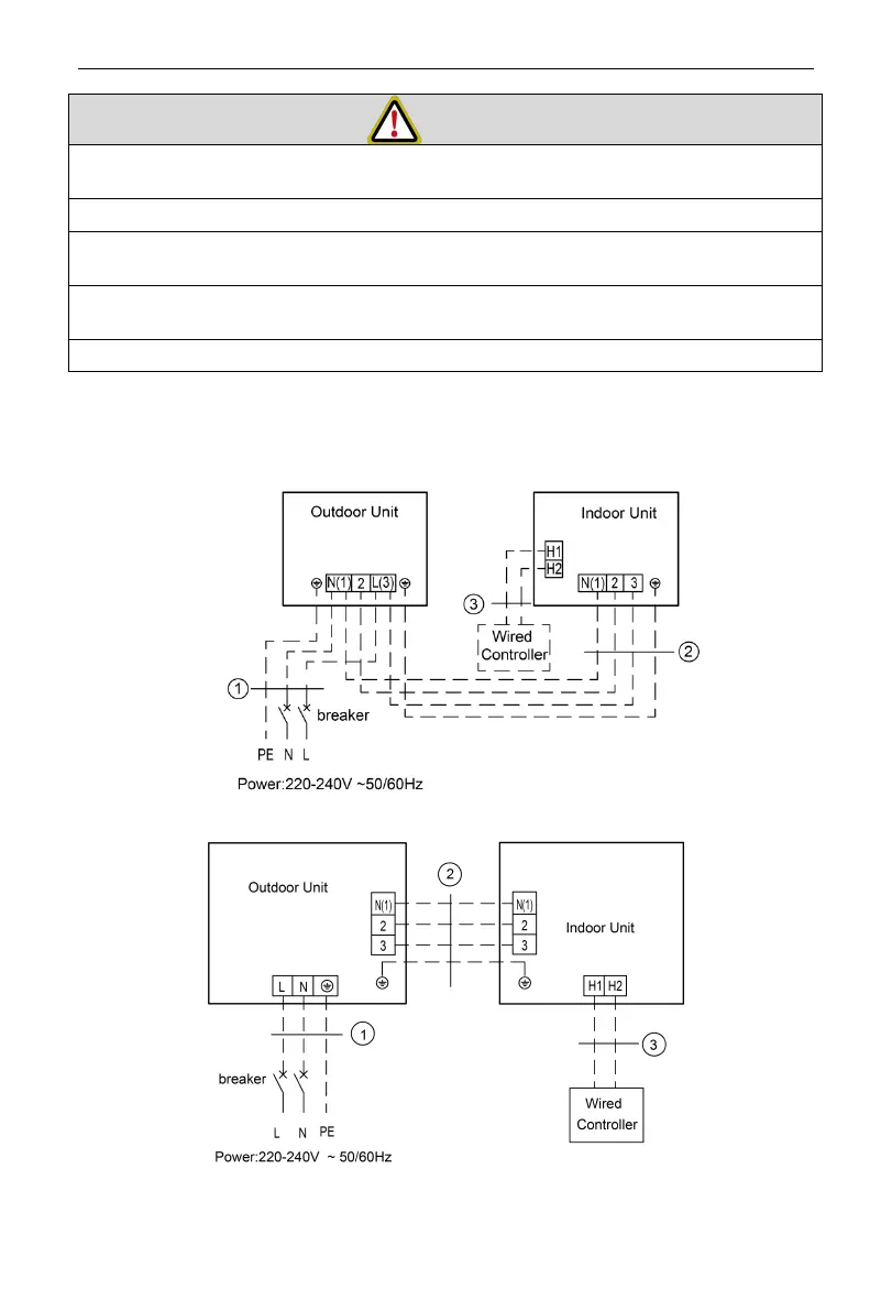
(4) Wire between indoor and outdoor units.
Single-phase unit: 12K, 18K, 24K,30K
36K, 42K, 48k