EasyManua.ls Logo

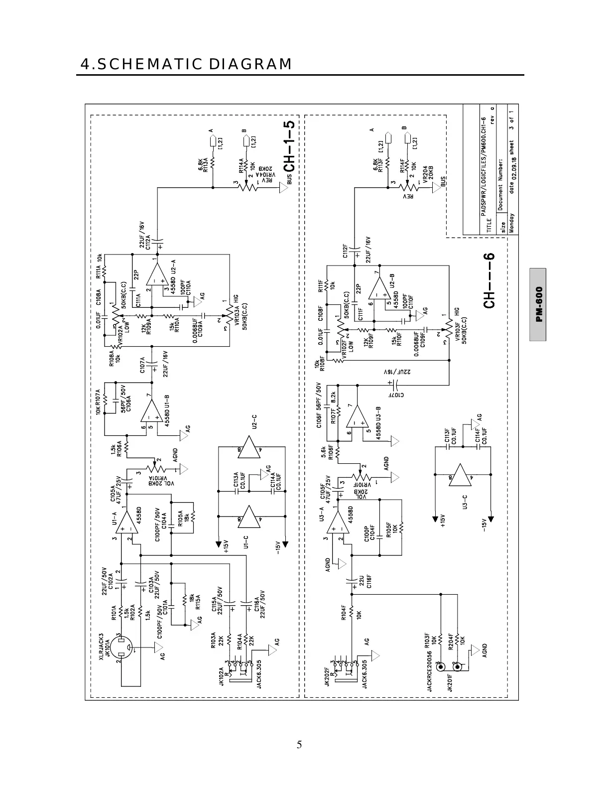
Wharfedale Pro PM-600 - 4.Schematic Diagrams; Channel 1-5 Schematic; Channel 6 Schematic

Wharfedale Pro PM-600
8 pages
Print Icon
To Next Page IconTo Next Page
To Next Page IconTo Next Page
To Previous Page IconTo Previous Page
To Previous Page IconTo Previous Page
Loading...
4.SCHEMATICDIAGRAM
5
All manuals and user guides at all-guides.com

Related product manuals