EasyManua.ls Logo

WHEELTRONIC 6000A - Hydraulic Cylinder Assembly

WHEELTRONIC 6000A
19 pages
Print Icon
To Next Page IconTo Next Page
To Next Page IconTo Next Page
To Previous Page IconTo Previous Page
To Previous Page IconTo Previous Page
Loading...
11
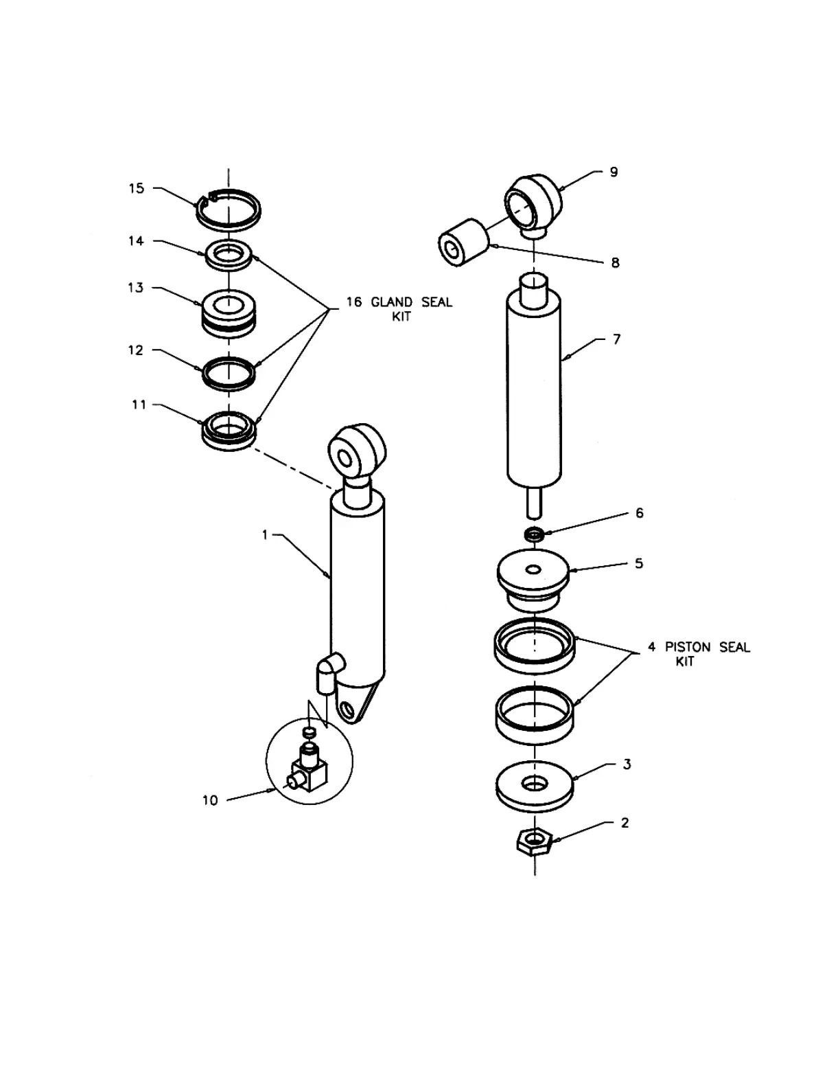
HYDRAULIC CYLINDER ASSEMBLY

Related product manuals