EasyManua.ls Logo

Whirlpool ED5LVAXVB00 - Control Parts

Whirlpool ED5LVAXVB00
21 pages
Print Icon
To Next Page IconTo Next Page
To Next Page IconTo Next Page
To Previous Page IconTo Previous Page
To Previous Page IconTo Previous Page
Loading...
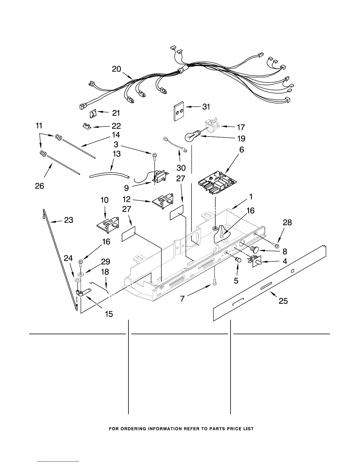
CONTROL PARTS
16
W10177407
Illus. Part
No. No. DESCRIPTION
Illus. Part
No. No. DESCRIPTION
Illus. Part
No. No. DESCRIPTION
1 2311721 Control Box
3 489214 Screw (2)
4 2149705 Switch, Light
5 2200096 Cover, Light
Lens
6 2303837 Control Board
Assembly
7 489398 Screw (2)
8 940014 Hole Plug
9 2315562 Thermostat
10 2181741 Slide, Air Control
11 2172906 Grommet, Light
Bar (4)
12 2161466 Slide, Thermostat
13 2196001 Tube Barrier
14 2179920 Light Bar (RC)
15 2161306 Pivot Arm
16 627068 Screw
17 2162085 Light Socket
18 2161307 Connecting Rod,
Short
19 2255743 Light Bulb
20 2311632 Control Box
Harness
21 1115374 Clip, Wiring
22 1115375 Clip, Wiring
23 2161308 Connecting Rod
24 489391 Fastner, Push−On
25 2311803 Escutcheon,
Control Box
26 2179921 Light Bar (FC)
27 2175513 Window
28 489084 Screw (2)
29 489203 Spring Washer
30 2213462 Harness, Indicator
Light
31 2172931 Heat Shield
For Models: ED5LVAXVQ00, ED5LVAXVB00
(White) (Black)

Related product manuals