EasyManua.ls Logo

Whirlpool LSR7233DW0 - Brake and Drive Tube Parts

Whirlpool LSR7233DW0
12 pages
Print Icon
To Next Page IconTo Next Page
To Next Page IconTo Next Page
To Previous Page IconTo Previous Page
To Previous Page IconTo Previous Page
Loading...
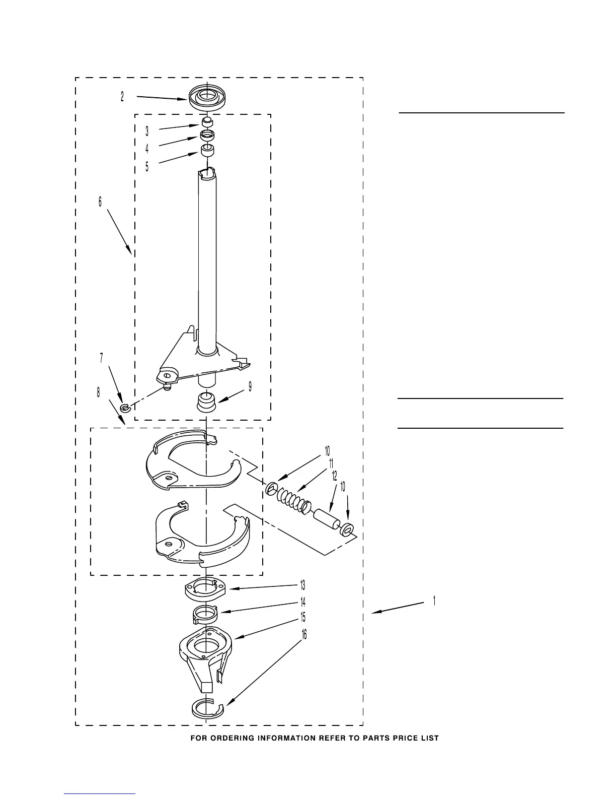
Illus. Part
No. No. DESCRIPTION
BRAKE AND DRIVE TUBE PARTS
1 388952 Brake And Drive
Tube (Complete)
2 62658 Ring, Thrust
3 91939 Seal, Oil
4 356427 Seal, Drive Tube
5 356937 Spacer, Drive
Tube
6 64027 Tube, Basket
Drive (Includes
Illus. 3, 4, 5 & 9)
7 64035 Ring, Retaining
8 64232 Shoe, Brake
9 62703 "T" Bearing,
Spin Tube
10 62648 Cap, Brake
Spring (2)
11 387806 Spring, Brake
12 62909 Sleeve, Brake
Spring
13 63023 Cam, Brake
Release
14 63022 Sleeve, Cam
15 64194 Driver, Brake
Cam
16 90368 Ring, Retaining
FOLLOWING PARTS
NOT ILLUSTRATED
285208 Lubricant
(Use Only In
Brake Shoe
Assembly On
Roller & Pin)
BD−315A
10
For Models: LSR7233DW0, LSR7233DQ0, LSR7233DZ0
(White) (Designer White) (Designer Almond)
881256

Related product manuals