EasyManua.ls Logo

Whirlpool LSR7233DW0 - Gearcase Parts

Whirlpool LSR7233DW0
12 pages
Print Icon
To Next Page IconTo Next Page
To Next Page IconTo Next Page
To Previous Page IconTo Previous Page
To Previous Page IconTo Previous Page
Loading...
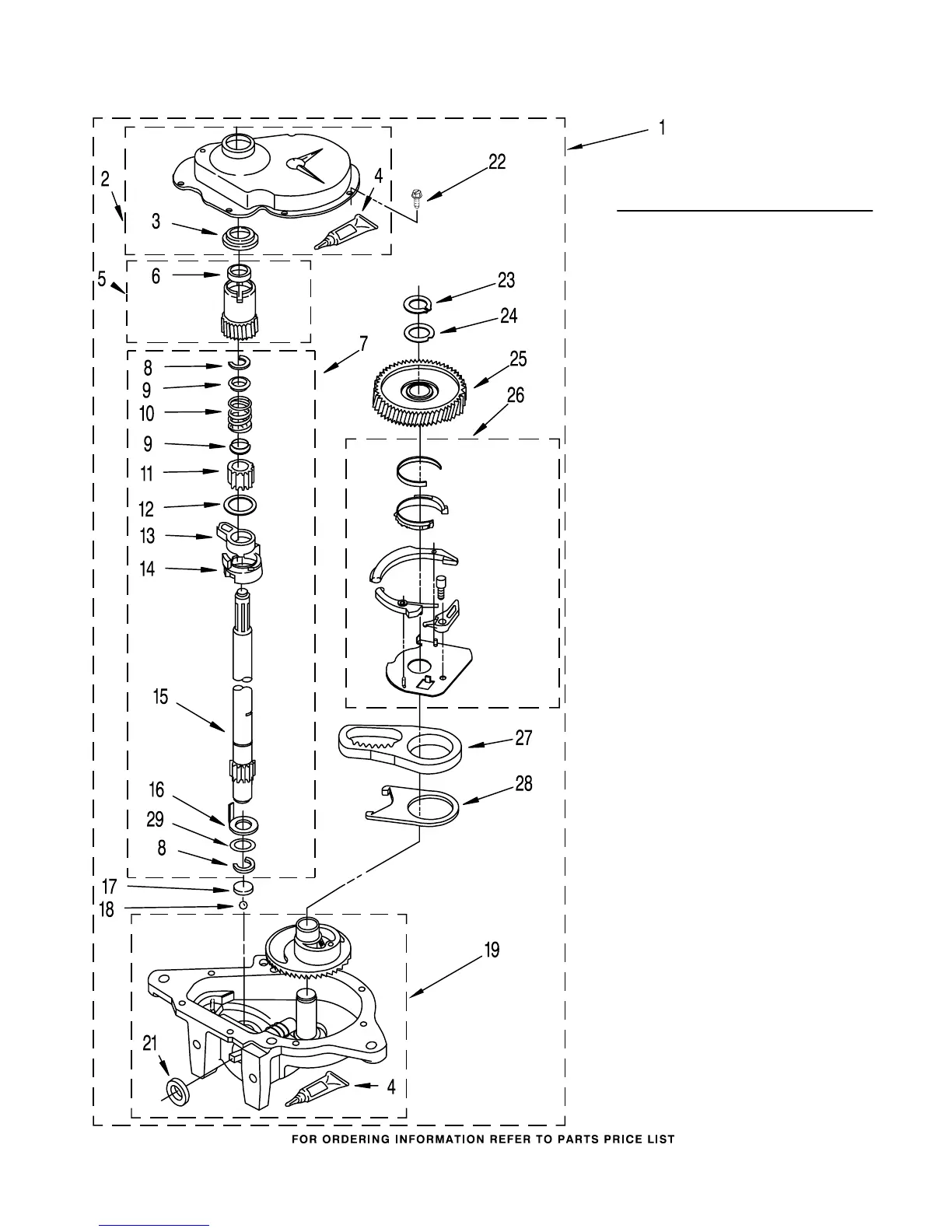
GEARCASE PARTS
Illus. Part
No. No. DESCRIPTION
GC−215C
1 3360630 Gearcase
(Complete)
2 285202 Cover, Gearcase
3 3349985 Seal, Gearcase
Cover
4 285195 Sealer, Gasket
(.20 Fl. Oz.) (6 ml)
5 63320 Pinion, Spin
(Includes Illus. 25)
6 356427 Seal, Spin
Pinion
7 389387 Shaft, Agitator
(Complete)
8 90369 Ring, Retaining (2)
9 62677 Retainer, Spring
10 62676 Spring, Agitate
11 63273 Gear, Agitate
(Includes 15 and 29)
12 62619 Washer, Agitate
Gear
13 62580 Cam Follower
(Includes 14)
14 62581 Cam, Agitate
(Includes 13)
15 285509 Shaft, Agitator
(Includes 11 and 29)
16 62618 Washer, Cam Thrust
17 16018 Bearing, Thrust
18 85529 Ball, Bearing
19 389230 Bottom and Pinion,
Gearcase
21 285352 Seal, Thrust Plug
22 3351614 Screw, Gearcase
Cover, Mounting (8)
(10−24 x 3/8)
23 3362552 Ring, Retaining
24 285735 Washer Kit,
Thrust
25 62570 Gear, Spin
26 388253 Neutral Assembly
27 3349296 Rack, Connecting
28 62621 Actuator, Shift
29 388815 Washer,
Intermediate
11
For Models: LSR7233DW0, LSR7233DQ0, LSR7233DZ0
(White) (Designer White) (Designer Almond)
881256

Related product manuals