EasyManua.ls Logo

White 1425 - Page 10

White 1425
62 pages
Print Icon
To Next Page IconTo Next Page
To Next Page IconTo Next Page
To Previous Page IconTo Previous Page
To Previous Page IconTo Previous Page
Loading...
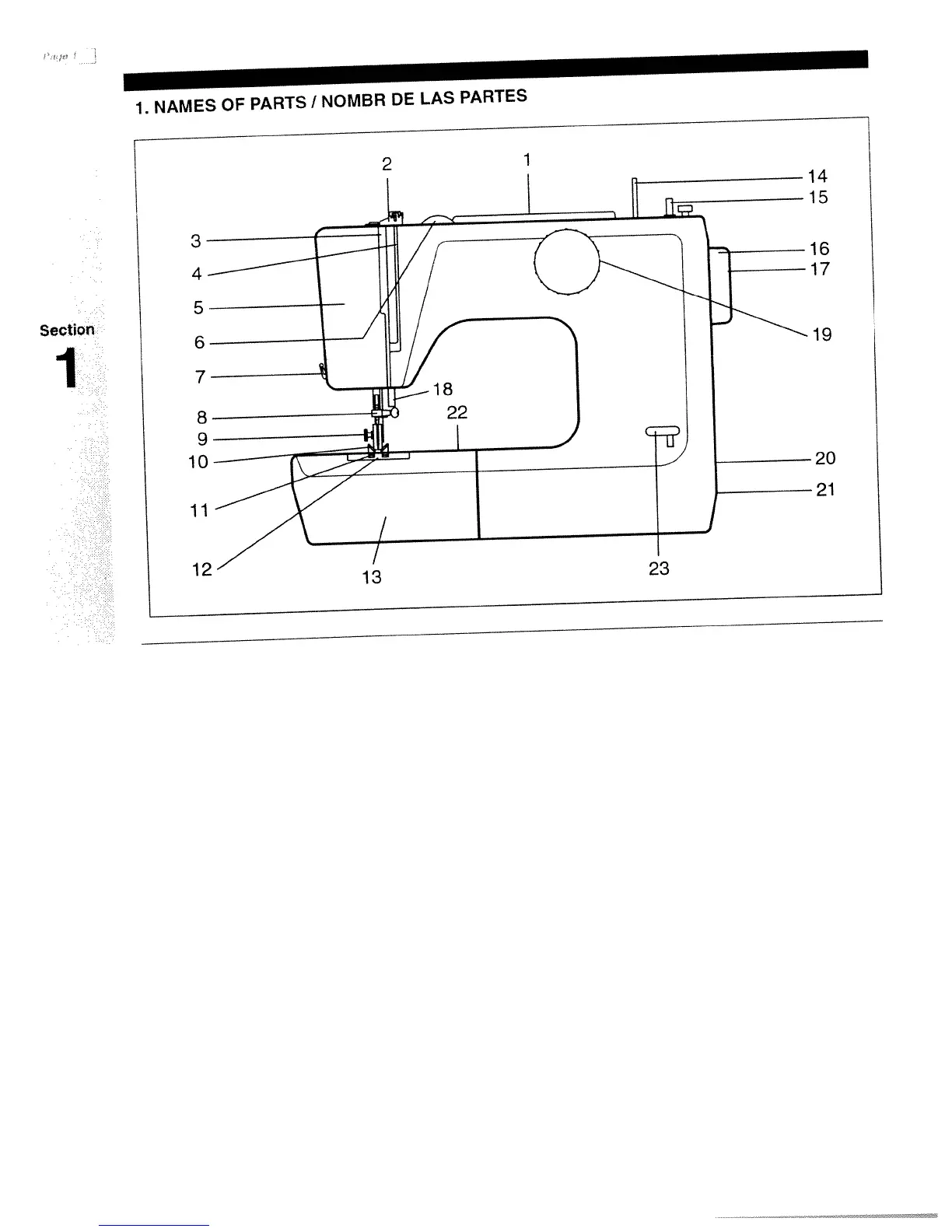
1.
NAMES
OF
PARTS!
NOMBR
DE
LAS
PARTES
2
1
Section
1
14
15
16
17
19
20
21
13
23

Related product manuals