EasyManua.ls Logo

White SM2000 - Page 10

White SM2000
64 pages
Print Icon
To Next Page IconTo Next Page
To Next Page IconTo Next Page
To Previous Page IconTo Previous Page
To Previous Page IconTo Previous Page
Loading...
Pagel
Section
1
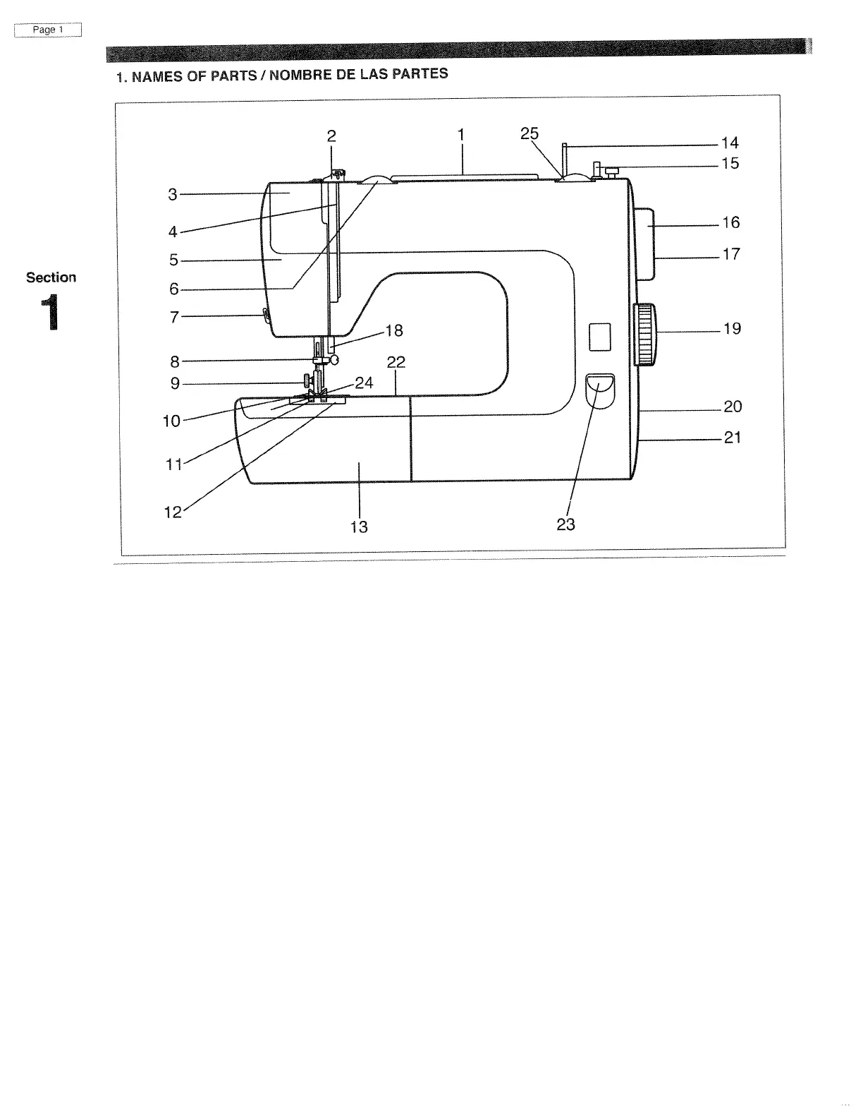
1.
NAMES
OF
PARTS?
NOMBRE
DE
LAS
PARTES
14
15
16
17
19
.20
-21

Related product manuals