EasyManua.ls Logo

Winco ULPSS8B2W - Page 20

Winco ULPSS8B2W
24 pages
Print Icon
To Next Page IconTo Next Page
To Next Page IconTo Next Page
To Previous Page IconTo Previous Page
To Previous Page IconTo Previous Page
Loading...
11075-00
20
60706-211
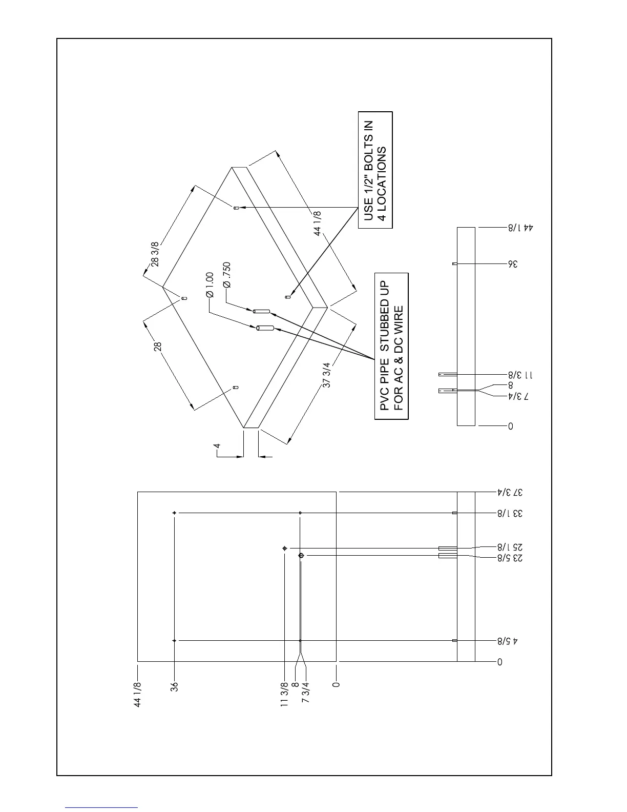
ENGINE GENERATOR SET
PAD LAYOUT

Related product manuals