EasyManua.ls Logo

Windsor Sensor S15 - GROUNDING INSTRUCTIONS; Grounding Warnings; Temporary Grounding Adaptor Use; LIMITED WARRANTY

Windsor Sensor S15
10 pages
Print Icon
To Next Page IconTo Next Page
To Next Page IconTo Next Page
To Previous Page IconTo Previous Page
To Previous Page IconTo Previous Page
Loading...
GROUNDING INSTRUCTIONS
This appliance must be grounded. If
it
should malfunction or breakdown, grounding provides a path
of least resistance, for electric current to reduce the risk of electric shock. This appliance is equipped
with a cord having an equipment
-
grounding conductor and grounding plug. The plug must be inserted
into an appropriate outlet that
is
properly installed and grounded in accordance with
and ordinances.
all local codes
WARNING
Improper connection of the equipment
-
grounding conductor can result in a risk of electric shock.
Check with a qualified electrician or service person if you are in doubt as to whether the outlet is
properly grounded. Do not modify the plug provided with the appliance
-
if
it
will not fit the outlet,
have a proper outlet installed by a qualified electrician.
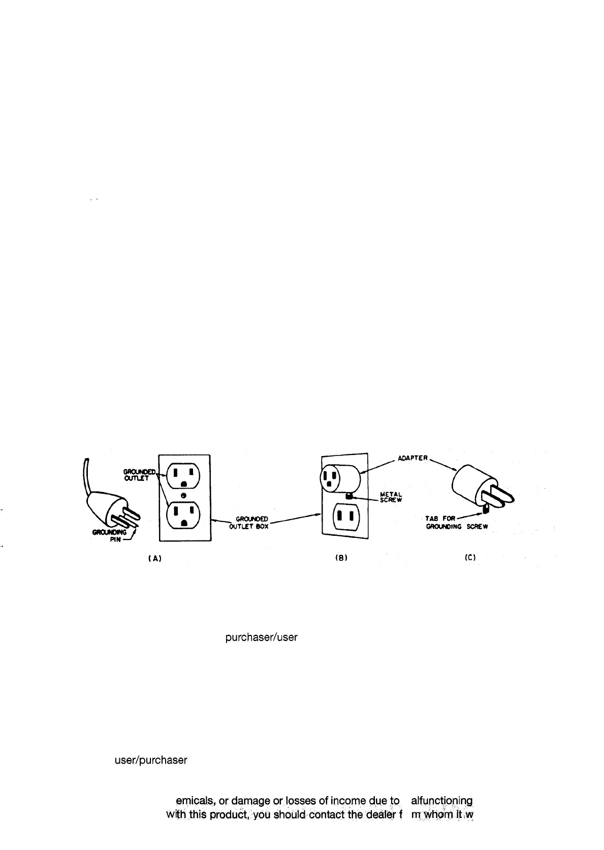
This appliance is for use on a nominal 120
-
volt circuit, and has a grounded plug that looks like the
plug illustrated in sketch
A. A
temporary apaptor that looks like the adaptor illustrated in sketches
B
and C may be used to connect this plug to a 2
-
pole receptacle as shown in sketch
B
if a properly
grounded outlet is not available. The temporary adaptor should be used only until a porperly grounded
outlet (sketch
A)
can be installed by a qualified electrician. The green colored rigid ear, lug, or the like
extending from the adaptor must be connected to a permanent ground such as a properly
grounded outlet box cover. Whenever the adaptor is used,
it
must be held in place by a metal screw.
Note: In Canada, the use of a temporary adaptor is not permitted by the Canadian Electrical Code.
LIMITED WARRANTY
WINDSOR warrants to the original purchaser/user that this product is unconditionally guaranteed free
from defects in workmanship and materials under normal use and service for a period of one year.
The vacuum motor and belts are warranted for a period of two years.
WINDSOR will, at its option, repair or replace without charge, except for transportations costs, parts
that fail under normal
use and service when operated and maintained in accordance with the
Instructions Manual. This warranty does not apply to normal wear or to items whose life is dependent
on their use and care.
This warranty is in lieu of all other warranties, expressed or implied, and releases WINDSOR from all
other obligations and liabilities.
It
is applicable only in the
U.S.A.
and Canada, and is extended only to
the original
usedpurchaser of this product. WINDSOR is not responsible for costs for repairs perfor
-
med by persons other than those specifically authorized by WINDSOR. This warranty does not apply
to damage from transportation, alterations by unauthorized persons, misuse or abuse of the equipment,
use of noncompatible ch m of the product.
If a difficulty develops
wi
ro as purchased.

Other manuals for Windsor Sensor S15

Related product manuals