EasyManua.ls Logo

Wittmann Tempro primus C 90 - 4 Layout and Function

Default Icon
66 pages
Print Icon
To Next Page IconTo Next Page
To Next Page IconTo Next Page
To Previous Page IconTo Previous Page
To Previous Page IconTo Previous Page
Loading...
Tempro basic C 90 & Tempro primus C 90
Page 15
BASIC & PRIMUS C90 V 3.0 english / 10.04.2012
4 Layout and Function
The tempering devices Tempro basic C90 and Tempro primus C90 are used for
tempering injection molding tools on injection molding machines, as well as other
tempering circuits on plastics processing machines.
This temperature stabilizer of the basic / primus C90 integrates modern design,
compact structure and simple handling.
The temperature stabilizer has a temperature stabilizing circuit with a mould connection.
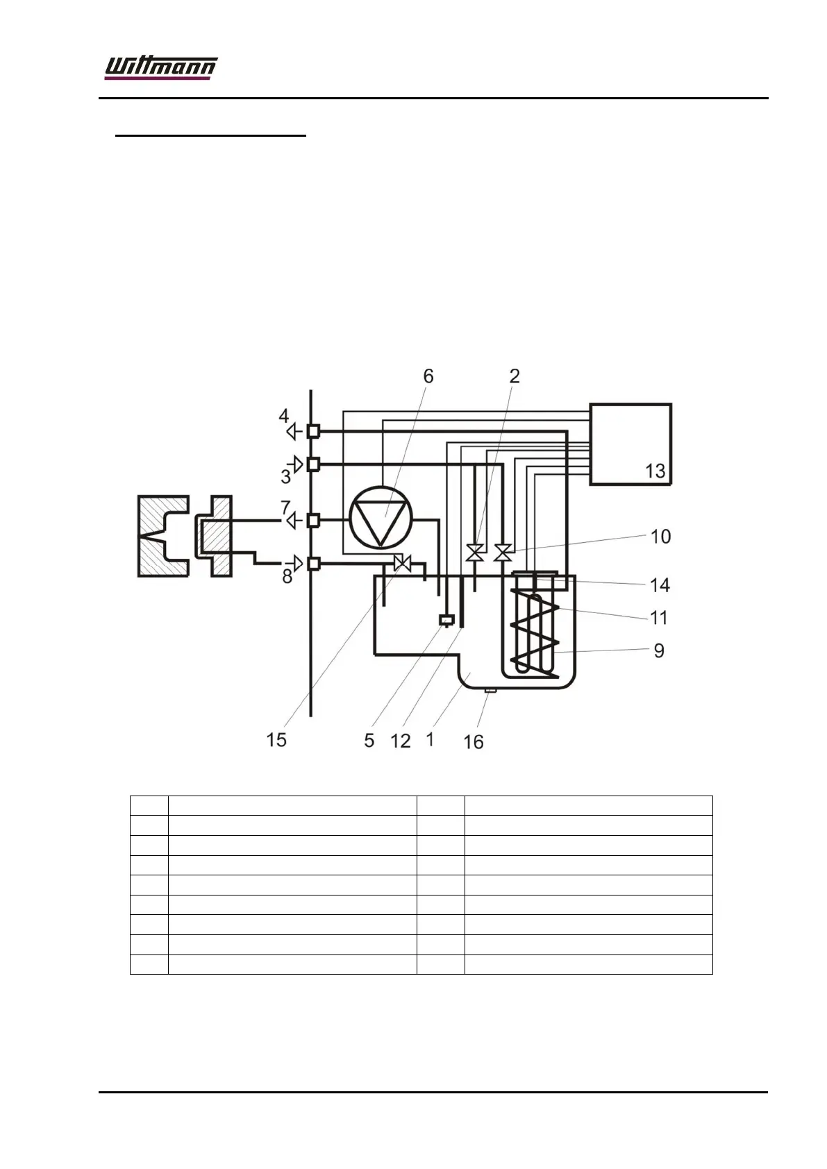
Diagram of temperature stabilizing circuit: Tempro basic C 90
Description
Nr.
Description
1 Heat exchanger 9 Heater element
2 Filling solenoid valve 10 Cooling solenoid valve
3 Cooling-water inlet 11 Cooling coil
4 Cooling-water outlet 12 Temperature sensor
5 Level switch 13 Microprocessor controller
6 Pump 14 Safety temperature cutout
7 Mould connection-FEED 15 Ventilation valve
8 Mould connection-RETURN 16 Drain plug

Table of Contents

Related product manuals