EasyManua.ls Logo

Wöhler AMP2-DA - Page 11

Default Icon
24 pages
Print Icon
To Next Page IconTo Next Page
To Next Page IconTo Next Page
To Previous Page IconTo Previous Page
To Previous Page IconTo Previous Page
Loading...
© 2004 Wohler Technologies Inc. ALL rights reserved
11
AMP2-DA/AVU and AMP2-DA/APP User Manual P/N 821584 Rev-A Section 2: Operation
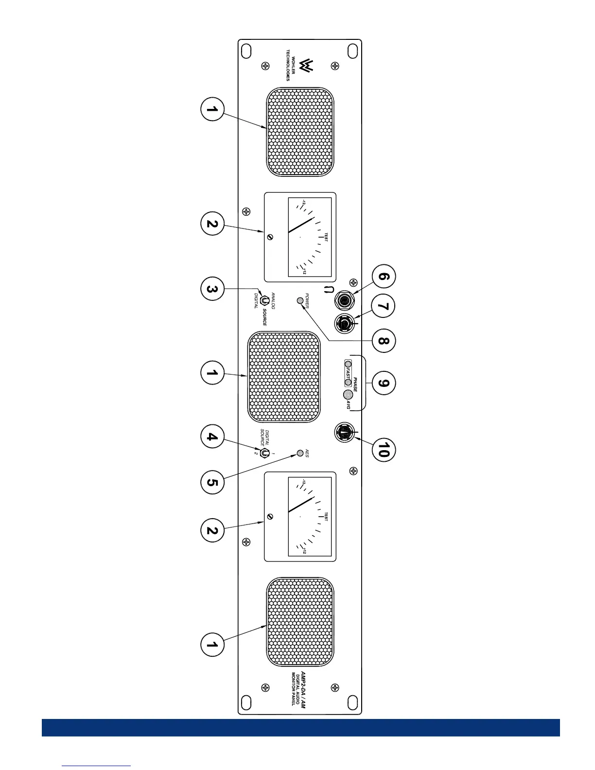
Figure-2a: Front Panel Features

Related product manuals