EasyManua.ls Logo

Wolfcraft 6156 - Attach Height-Adjustable Legs

Wolfcraft 6156
92 pages
Print Icon
To Next Page IconTo Next Page
To Next Page IconTo Next Page
To Previous Page IconTo Previous Page
To Previous Page IconTo Previous Page
Loading...
15
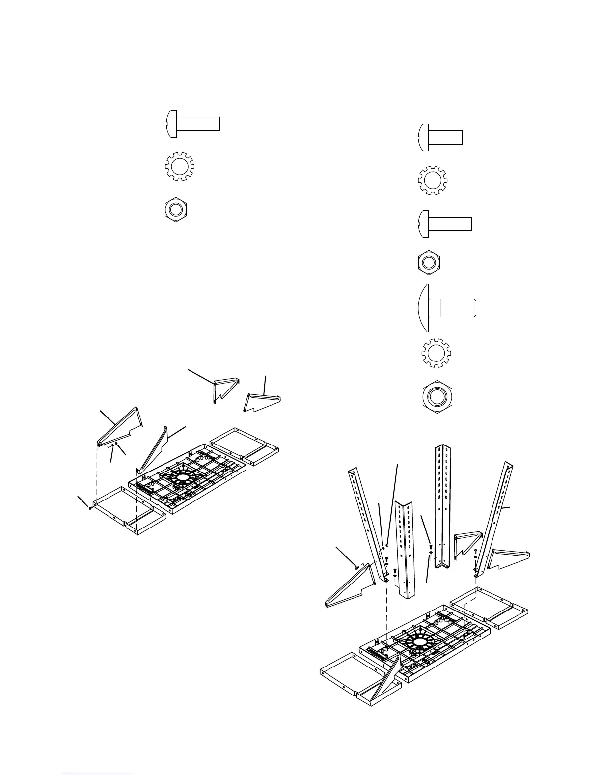
Attach Supports to Tabletop
AN, black (4)
AP, black (4)
AQ, black (4)
Use 2 pan head screws (AN), 2
toothed washers (AP), and 2 hex nuts
(AQ) to attach a pair of supports (C
and D) to each extension (F). See
Figure 6.
D
D
AQ
AP
AN
C
C
Figure 6
Attach Height-Adjustable Legs
(Model 6155 Only)
AJ, zinc (16)
AP, black (24)
AN, black (8)
AQ, black (8)
AR, black (24)
AS, black (24)
AT, black (24)
AP
AQ
AN
AJ
AP
Figure 7
F

Related product manuals