EasyManua.ls Logo

Woods BACKHOE 1050 - Page 52

Woods BACKHOE 1050
60 pages
Print Icon
To Next Page IconTo Next Page
To Next Page IconTo Next Page
To Previous Page IconTo Previous Page
To Previous Page IconTo Previous Page
Loading...
52 Parts
51861 (Rev. 6/16/2006)
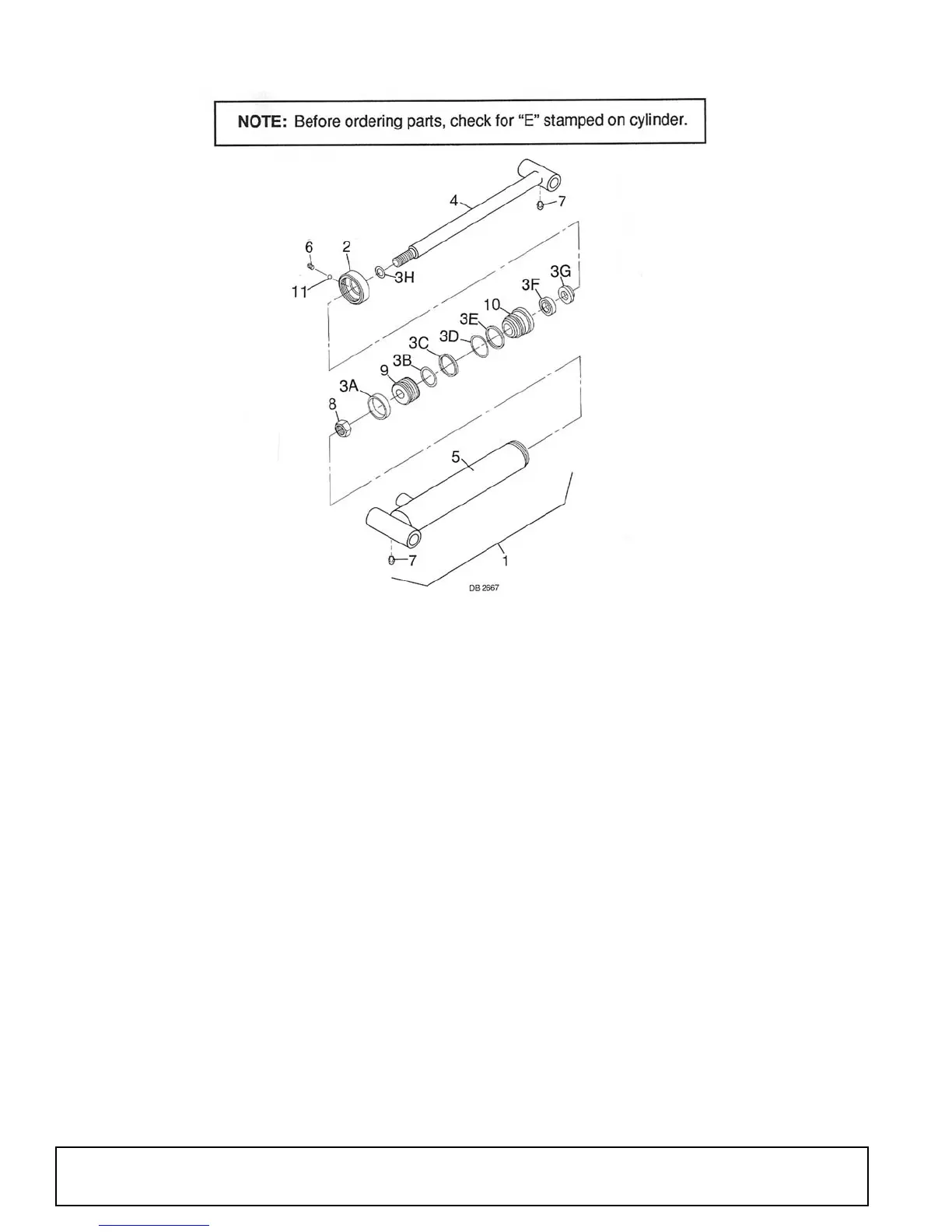
BH1050 BOOM & DIPPERSTICK CYLINDER
REF PART QTY DESCRIPTION
1 34216 1 3 x 27 Hydraulic cylinder assembly
2 34259 1 Collar
3 34260 1 Seal kit (contains items 3A-3H)
3A ----- 1 Wear ring
3B ----- 1 O-Ring, 2-9/16 ID x 2-3/4 OD
3C ----- 1 Piston ring
3D ----- 1 O-Ring, 2-3/4 ID x 3.0 OD
3E ----- 1 Back-up ring, 2-3/4 ID x 3.0 OD
3F ----- 1 Poly seal, 1-1/2 ID x 1-7/8 OD x 5/16
deep
3G ----- 1 Wiper ring, Heavy section 1-1/2
3H ----- 1 O-Ring, 1.0 ID x 1-1/3 OD
4 34261 1 Piston rod
5 ----- 1 Cylinder body
6 34359 1 5/16 NC x 5/16 Socket head set
screw
7 3584 2 45D 1/4 Tapered thread grease fitting
8 34323 1 1-14 UNS Hex lock nut
9 34262 1 Piston
10 34263 1 Gland
11 34360 1 3/16 OD Nylon ball
* Obtain locally
Included in seal kit
REF PART QTY DESCRIPTION