EasyManua.ls Logo

Worcester 25Si - Fault Finding Guide; Preliminary Electrical Checks; Fail Point C Diagnosis

Worcester 25Si
40 pages
Print Icon
To Next Page IconTo Next Page
To Next Page IconTo Next Page
To Previous Page IconTo Previous Page
To Previous Page IconTo Previous Page
Loading...
Note: This fault-finding information is for guidance only. Worcester Heat Systems cannot be held responsible for costs incurred by
persons not deemed to be competent.
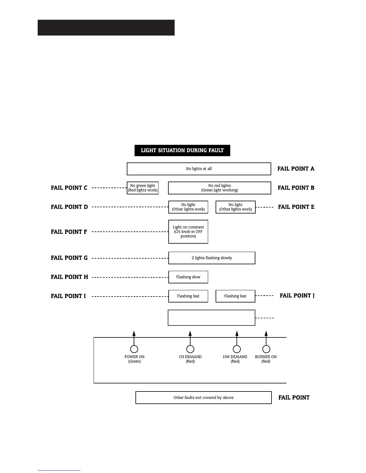
The electronic control system for this boiler incorporates four lights on the facia. These are used to show normal operating status. But as
a secondary function, by flashing, they can also be used to help provide fault diagnostics. Therefore, with individual or groups of lights
being permanently off, on or flashing, every normal fault can be identified.
To use the fault finding system, select a box below which represents the light situation during your fault. Then refer to the appropriate
following section. This fault-finding system assumes that the appliance has been operating correctly until the time of failure.
PRELIMINARY CHECKS
Preliminary electrical system checks are the first electrical checks to be carried out during a fault-finding procedure. On completion of
the Service/Fault-Finding task which has required the breaking and remaking of electrical connections, check (a) EARTH CONTINUITY,
(b) SHORT CIRCUIT CHECK, (c) POLARITY and (d) RESISTANCE TO EARTH.
18. Fault Finding
Note:
Slow flash is once per second, fast flash is five times per second.
Slow flash can only be cleared by using the facia reset button (press for at least one second).
Fast flash is cleared by removing fault and/or main switch off/on.
32
2 lights flashing fast
L
FAIL POINT K

Related product manuals