EasyManua.ls Logo

XLINE BSF800 - Przygotowanie Do Użycia

XLINE BSF800
Print Icon
To Next Page IconTo Next Page
To Next Page IconTo Next Page
To Previous Page IconTo Previous Page
To Previous Page IconTo Previous Page
Loading...
8 9
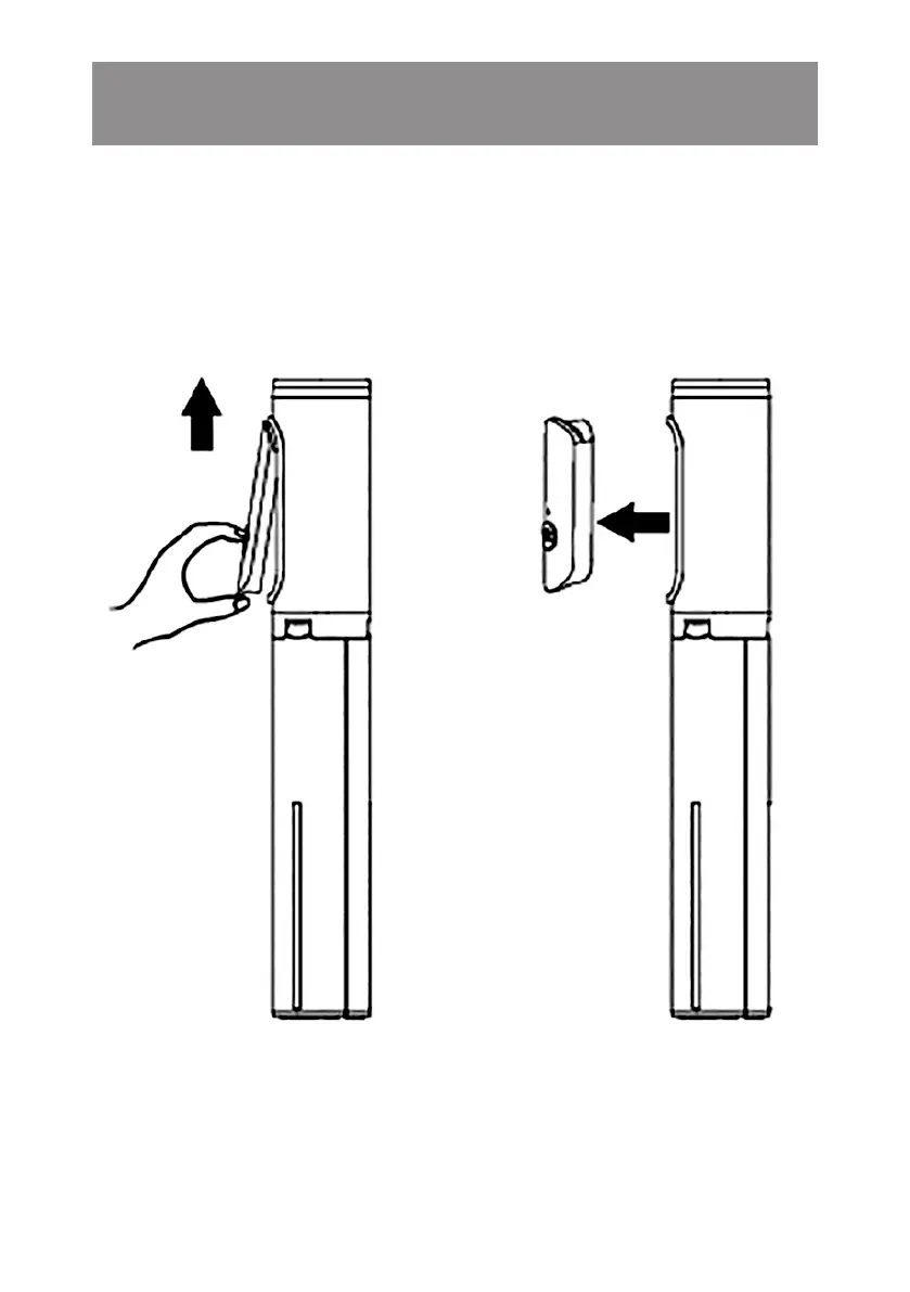
PRZYGOTOWANIE DO UŻYCIA
Wyjmowanie i mocowanie pilota w uchwycie
1.
Aby wyjąc pilot z uchwytu podważ jego dolną
kradź i wyjmij: