EasyManua.ls Logo

Yamaha 30 - Page 294

Yamaha 30
497 pages
Print Icon
To Next Page IconTo Next Page
To Next Page IconTo Next Page
To Previous Page IconTo Previous Page
To Previous Page IconTo Previous Page
Loading...
6-14
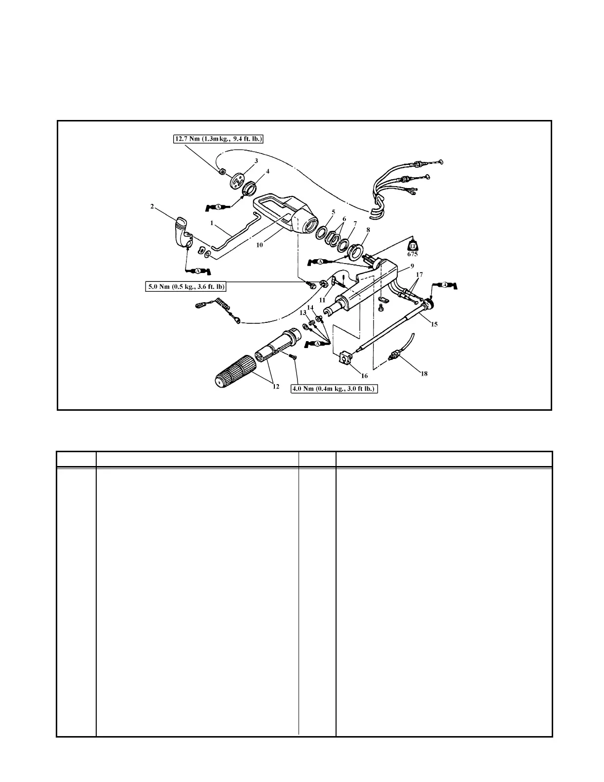
Outboard Rigging Guide - 2001 F25 Tiller Handle Kit
F25 STEERING HANDLE
EXPLODED DIAGRAM
REMOVAL AND INSTALLATION CHART
STEP PROCEDURE/PART NAME QTY. SERVICE POINTS
STEERING HANDLE DISASSEMBLY
Follow the Step order for removal.
1 Shift Link Rod 1
2 Shift Lever 1
3 Cable Guide 1
4 Bushing 1
5 Plastic Washer 1
6 Wave Washer 2
7 Metal Washer 1
8 Bushing 1
9 Tiller Handle Bracket 1
10 Steering Bracket 1
11 Friction Piece 1
12 Steering Grip 1
13 Spring 1
14 Bushing 1
15 Throttle Shaft 1
16 Friction Piece 1
17 Throttle Cable 2
18 Engine Stop Switch 1
Reverse the disassembly steps for installation

Table of Contents

Related product manuals