EasyManua.ls Logo

Yamaha BBG5S - Overall Circuit Diagram; Wiring

Yamaha BBG5S
6 pages
Print Icon
To Next Page IconTo Next Page
To Next Page IconTo Next Page
To Previous Page IconTo Previous Page
To Previous Page IconTo Previous Page
Loading...
BBG5S
5
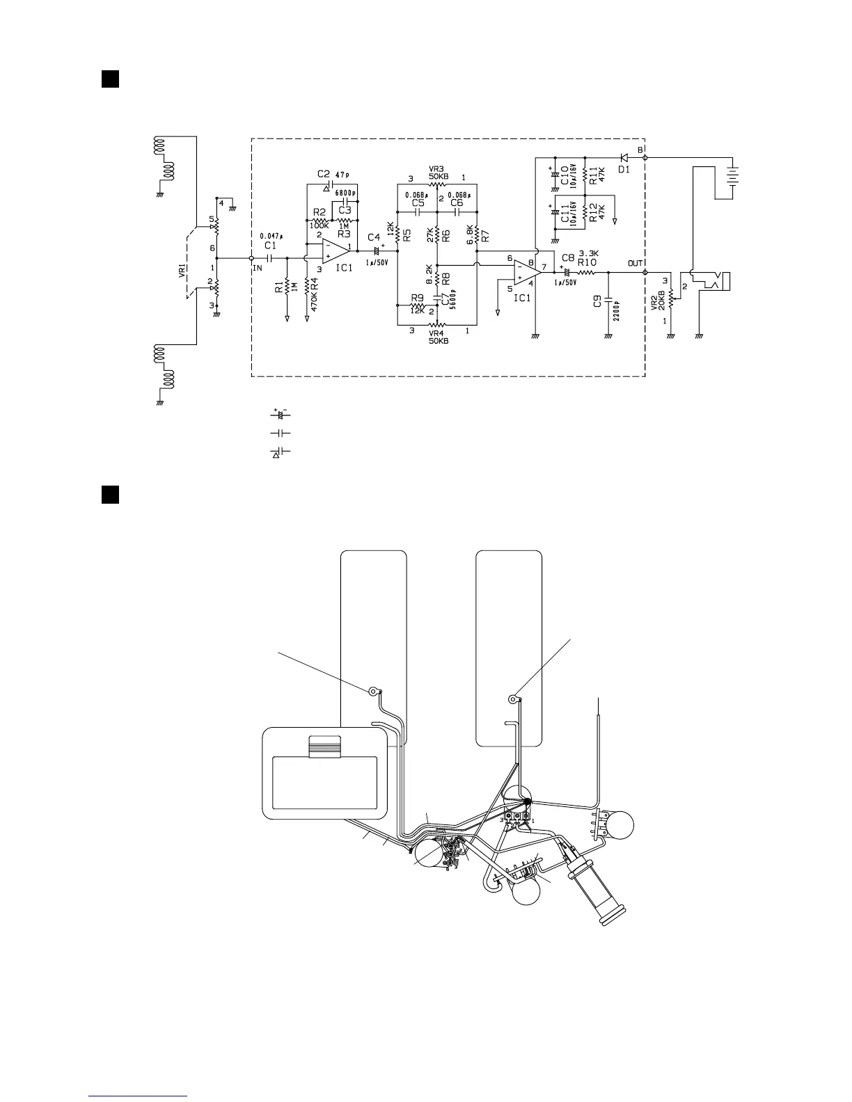
OVERALL CIRCUIT DIAGRAM
WIRING
FRONT PICKUP
REAR PICKUP
BALANCE
A+C 500k
BASS
TREBLE
VOLUME
Battery
DC 9V
OUTPUT
JACK
Electrolytic capacitor
Mylay capacitor
Ceramic capacitor
FRONT PICKUP REAR PICKUP
to front pickup cavity
to rear pickup cavity
to bridge ground
Box for dry cell
BALANCE
A+C 500K
BASS
B50K
TREBLE
B50K
VOLUME
B20K
BL
BL
BL
BL
RE
GY
BL
WH
RE
WH
WH
WH
RE
OUTPUT

Related product manuals