EasyManua.ls Logo

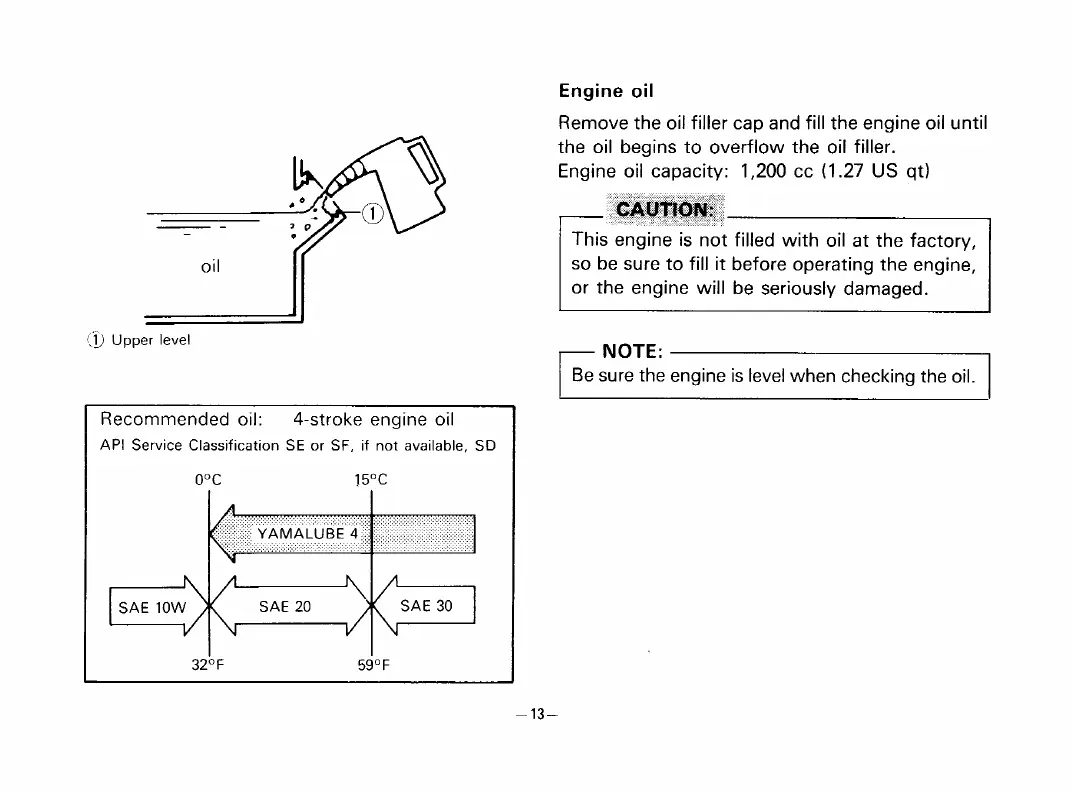
Yamaha EC5000DVE - Engine Oil Checks

Yamaha EC5000DVE
43 pages
Print Icon
To Next Page IconTo Next Page
To Next Page IconTo Next Page
To Previous Page IconTo Previous Page
To Previous Page IconTo Previous Page
Loading...

Related product manuals