EasyManua.ls Logo

Yamaha F9.9FE - Page 102

Yamaha F9.9FE
226 pages
Print Icon
To Next Page IconTo Next Page
To Next Page IconTo Next Page
To Previous Page IconTo Previous Page
To Previous Page IconTo Previous Page
Loading...
3-32
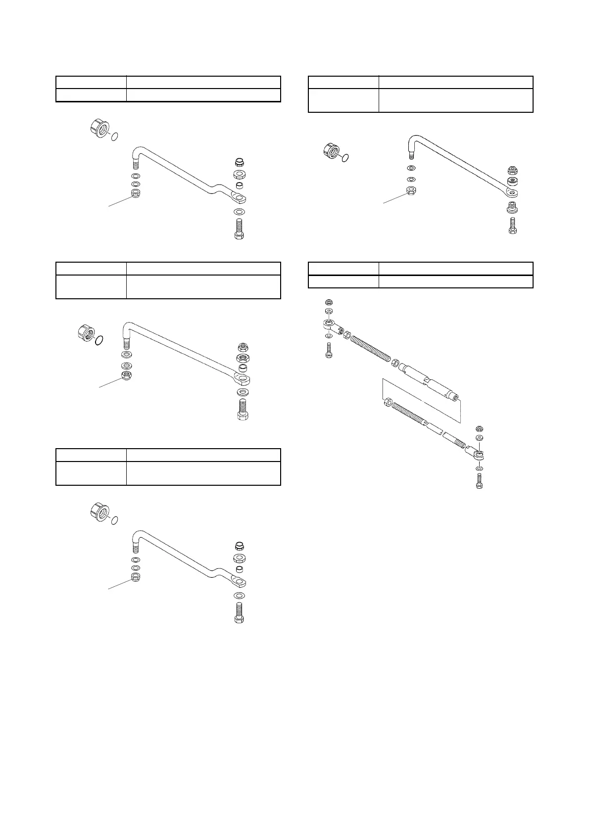
STEERING GUIDE ATTACHMENT KIT
Part No. Applicable model
697-61350-00 55B
Part No. Applicable model
67F-61350-00
F75B (F75), F80B
F90B (F90), F100D
Part No. Applicable model
688-61350-10
60F, 70B (70), 75C, 90A (90)
75A, 85A, E60H
(1)
(1)
(1)
Part No. Applicable model
6E5-61350-02
F75C, F95A, F100B
F115 – F250, 115 – 300
Part No. Applicable model
6E5-61301-01 40 – 300, F30 – F250
(1)
Twin engine tie-bar kit
Adjustable distance:
600 mm (23.6 in.) – 800 mm
(31.5 in.)

Table of Contents

Related product manuals