EasyManua.ls Logo

Yamaha SRX700SD - Page 482

Yamaha SRX700SD
497 pages
Print Icon
To Next Page IconTo Next Page
To Next Page IconTo Next Page
To Previous Page IconTo Previous Page
To Previous Page IconTo Previous Page
Loading...
SPEC
9-20
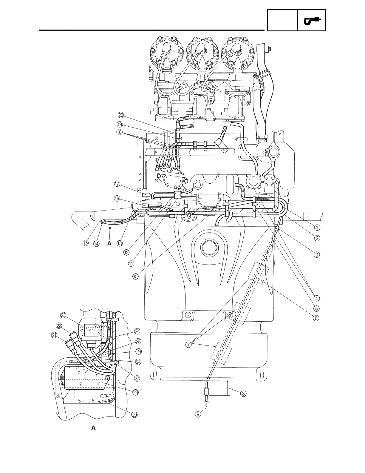
CABLE ROUTING
SDN9140

Table of Contents