EasyManua.ls Logo

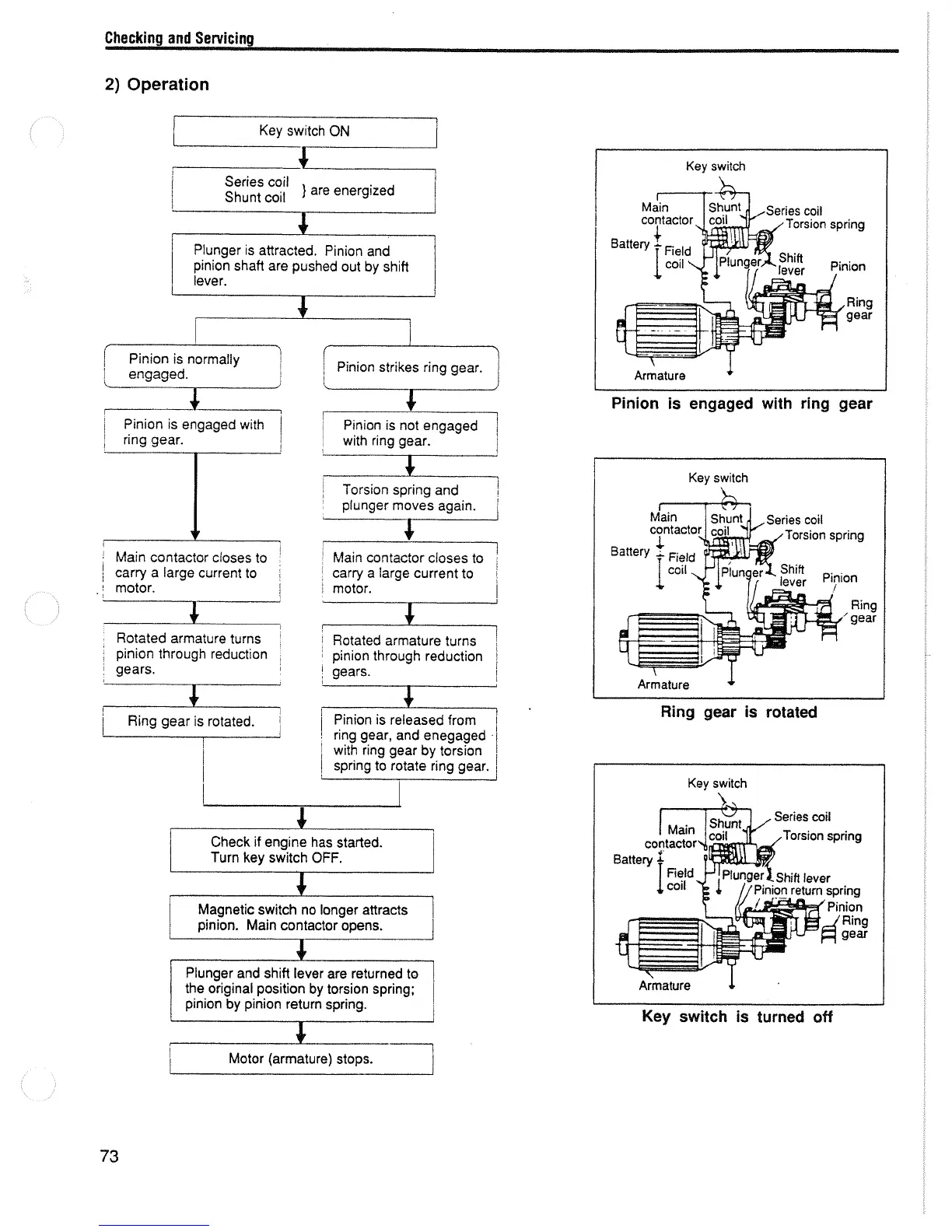
Yanmar L70AE - Reduction Type Starter Motor Operation

Yanmar L70AE
130 pages
Print Icon
To Next Page IconTo Next Page
To Next Page IconTo Next Page
To Previous Page IconTo Previous Page
To Previous Page IconTo Previous Page
Loading...

Table of Contents

Related product manuals