EasyManua.ls Logo

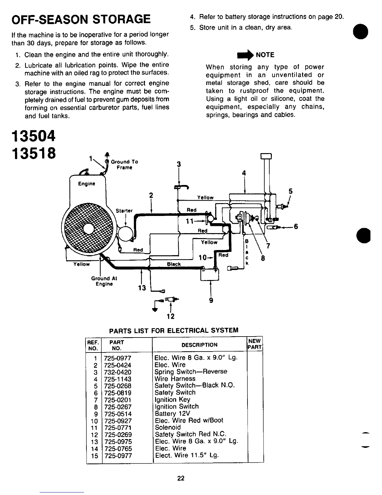
Yard-Man 13504-8 - Off-Season Storage; Electrical System Diagram

Yard-Man 13504-8
36 pages
Print Icon
To Next Page IconTo Next Page
To Next Page IconTo Next Page
To Previous Page IconTo Previous Page
To Previous Page IconTo Previous Page
Loading...

Related product manuals