EasyManua.ls Logo

Yardline RIDGEPOINTE - Page 29

Yardline RIDGEPOINTE
78 pages
Print Icon
To Next Page IconTo Next Page
To Next Page IconTo Next Page
To Previous Page IconTo Previous Page
To Previous Page IconTo Previous Page
Loading...
27
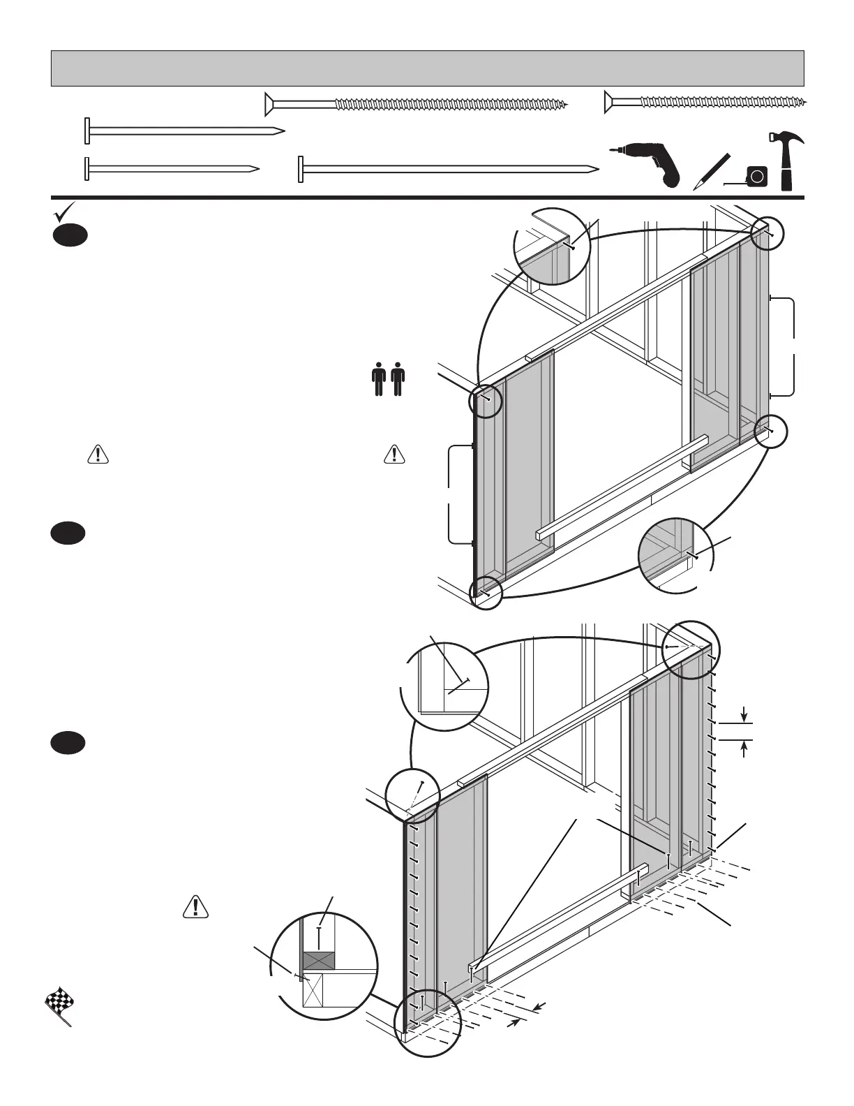
FRONT WALL INSTALLATION
3" (7,6 cm)
x2
3" (7,6 cm)
x6
2
Center the front wall between side walls.
Secure wall with 2" screws into top and bottom plates
.
Secure wall to bottom plate fi rst.
BEGIN
1
Secure lower edge of panels to  oor with
2" nails spaced 6" apart.
Angle nails into  oor frame .
Secure panels to side wall studs with
1-1/2" nails spaced 6" apart.
Secure wall bottom plates to  oor
with 3" nails .
ENSURE PANEL CORNERS ARE FLUSH.
Your front wall is now installed.
FINISH
Remove temporary bracing.
2" (5,1 cm)
x16
1-1/2" (3,8 cm)
x26
2" (5,1 cm)
x4
PARTS REQUIRED

Nails


Nails
Flush
Flush
6" (15,2 cm)
6"
(15,2 cm)

Screw

Secure top plates with 3" screws at
each corner at an angle .
3

Screw




Nails


Nails


Nails