EasyManua.ls Logo

yellow jacket 93600 - The Purpose of the BULLETX Design; Importance of Moisture Removal

Default Icon
12 pages
Print Icon
To Next Page IconTo Next Page
To Next Page IconTo Next Page
To Previous Page IconTo Previous Page
To Previous Page IconTo Previous Page
Loading...
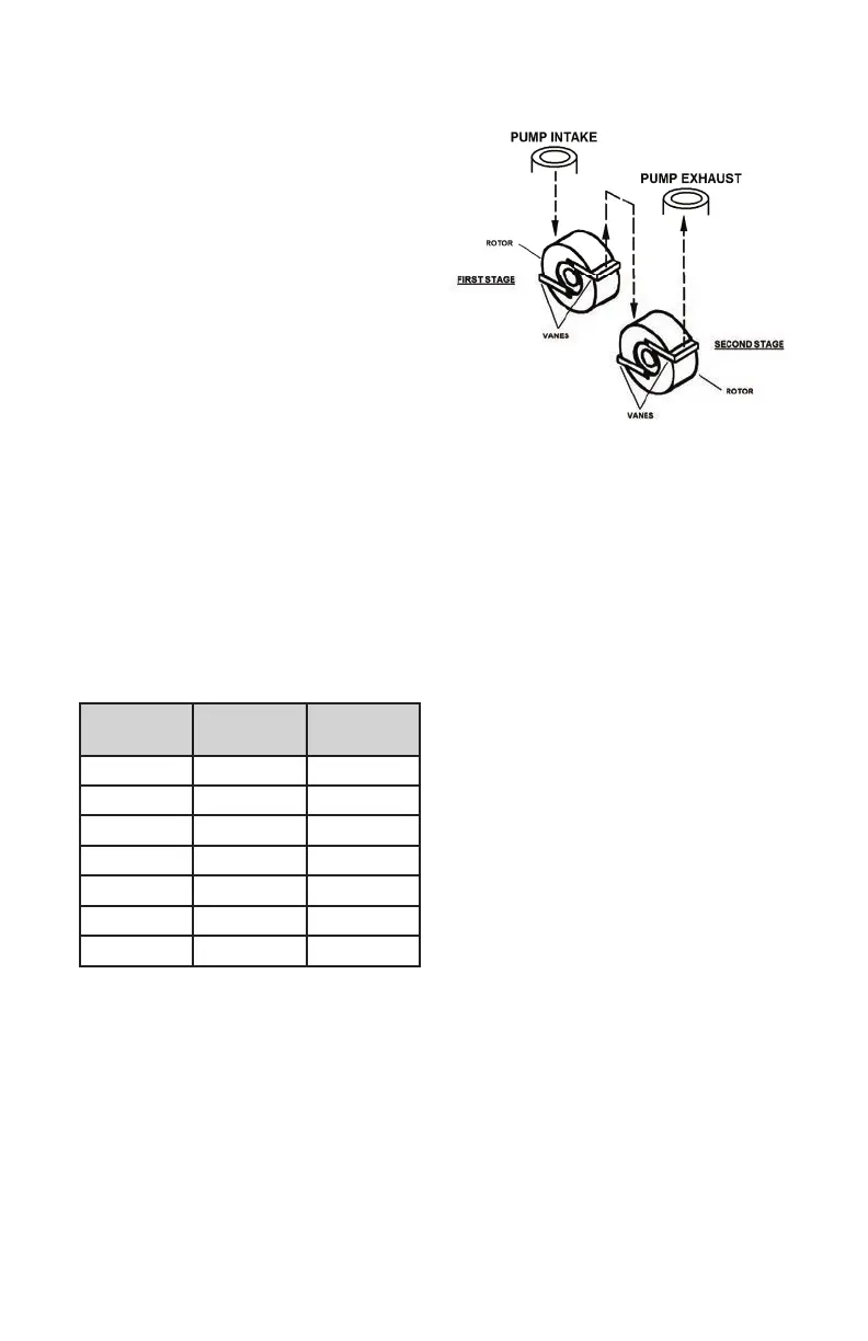
The BULLET
®
X
Pump is a 2-stage ro tary
vane design (Fig.1) that increases efficien-
cy and speeds pump down to 30 microns.
The pump lowers the internal pressure of
a refrigeration system until moisture boils
into a vapor. As the moisture is vaporized,
it is evacuated by the pump to help dehy-
drate the system. Most technicians try to
achieve between 250 and 1000 microns.
A manometer or electronic vacuum gauge
are the only ways to monitor evacua-
tion progress. Manometer readings are
approximate in inches of mercury. Only
an electronic vacuum gauge is accurate
enough to show when you reach the
desired mi cron range.
As the chart shows, only an electronic
gauge reads fine differences to provide
assurance that the vacuum is low enough
to boil the greatest possible amount of
moisture.
The Purpose of the BULLET
®
X Design
How One Small Drop Dampens Your
Profits.
A small drop of moisture can hurt your
profits and reputation.
During new system set-up, protective caps
are removed admitting moisture and air
into system components.
First stage exhausts into the intake of the second stage
similar to two single stage pumps connected together.
If air – a non-condensible – remains in the
system, it collects on the high side reduc-
ing system efficiency. This causes a rise
in head pressure. The discharge valve gets
hotter than normal and organic solids form
causing compressor failure.
Moisture in the system can form ice which
closes off openings in expansion valves
and cap tubes, and prevent adequate
cooling.
Ultimately moisture and air can produce
acids and sludge which could cause
in -warranty failures.
During service and parts replacement,
the same contaminants get in again, and
you could be called back for repairs by a
dissatisfied customer.
Moisture and air can even enter through
system leaks. And as the moisture in
the air increases, so does the amount of
contamination. The higher the humidity,
the bigger your problem.
A vacuum pump “pulls” air and moisture
out of the system before the system is
damaged. The higher and more complete
the vacuum, the more moisture is removed.
That’s why your BULLET
®
X
Pump is specif-
ically engineered for high vacuums.
4
Boiling Temp
of Water
Inches
Mercury
Microns
212°F (100°C) 0 760,000
151°F (66°C) 22.05 200,000
101°F (38°C) 27.95 50,000
78°F (26°C) 28.95 25,000
35°F (2°C) 29.72 5,000
1°F (17°C) 29.882 1,000
-50°F (-46°C) 29.919 50
Fig.1

Related product manuals