EasyManua.ls Logo

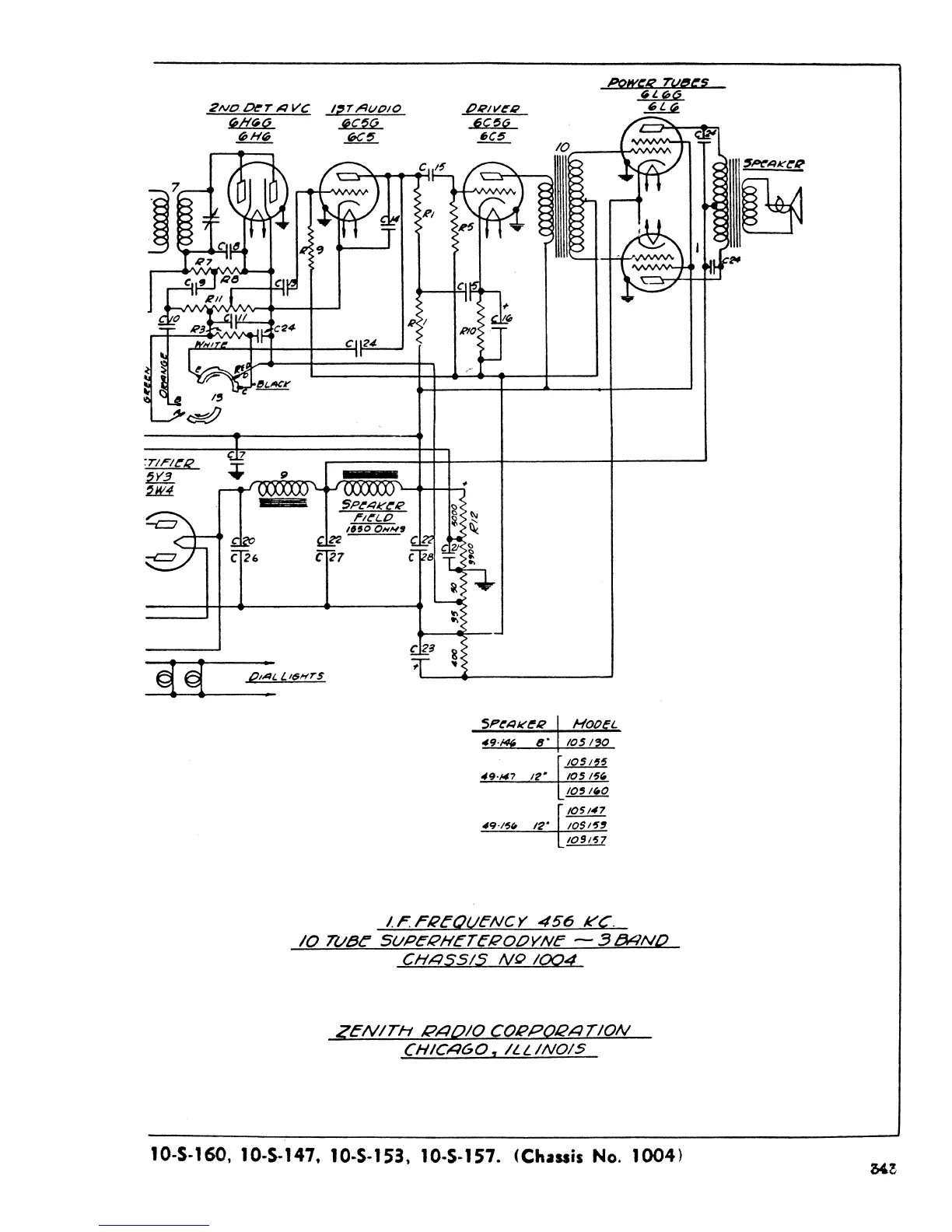
Zenith 1937 - 10-Tube Superheterodyne Chassis 1004 Circuit Diagram

Zenith 1937
70 pages
Print Icon
To Next Page IconTo Next Page
To Next Page IconTo Next Page
To Previous Page IconTo Previous Page
To Previous Page IconTo Previous Page
Loading...
This Book Is In the Public Domain

Related product manuals