EasyManua.ls Logo

Zimmer Cryo 6 - Page 4

Zimmer Cryo 6
48 pages
Print Icon
To Next Page IconTo Next Page
To Next Page IconTo Next Page
To Previous Page IconTo Previous Page
To Previous Page IconTo Previous Page
Loading...
Illustrations
Screens and display
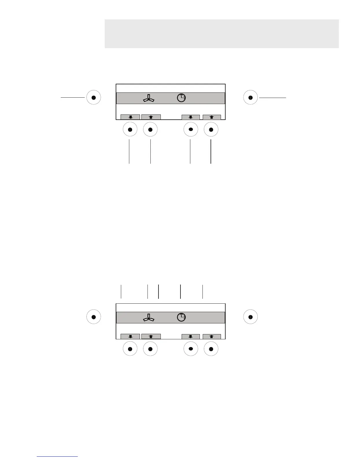
Fig. 3
OK Start/ Stop
10:00
P2
7
P
P
Operating
elements display
13
OK key
14
Arrow for navigation / changing parameters
15
Arrow for navigation / changing parameters
16
Arrow for navigation / changing parameters
17
Arrow for navigation / changing parameters
18
Start/stop key
Fig. 4
OK Start/ Stop
10:00
P2
7
P
P
Display views
19
Program view
20
Airflow level display (graphical)
21
Airflow level display (numerical)
22
Treatment time display (graphical)
23
Treatment time display (numerical)
13
17
18
21
22
19.1
23

Other manuals for Zimmer Cryo 6

Related product manuals