EasyManua.ls Logo

3M 2660 - Page 18

3M 2660
23 pages
Print Icon
To Next Page IconTo Next Page
To Next Page IconTo Next Page
To Previous Page IconTo Previous Page
To Previous Page IconTo Previous Page
Loading...
3M Overhead Projector 2660 Illustrated Parts Breakdown
© 3M IPC 2001 17
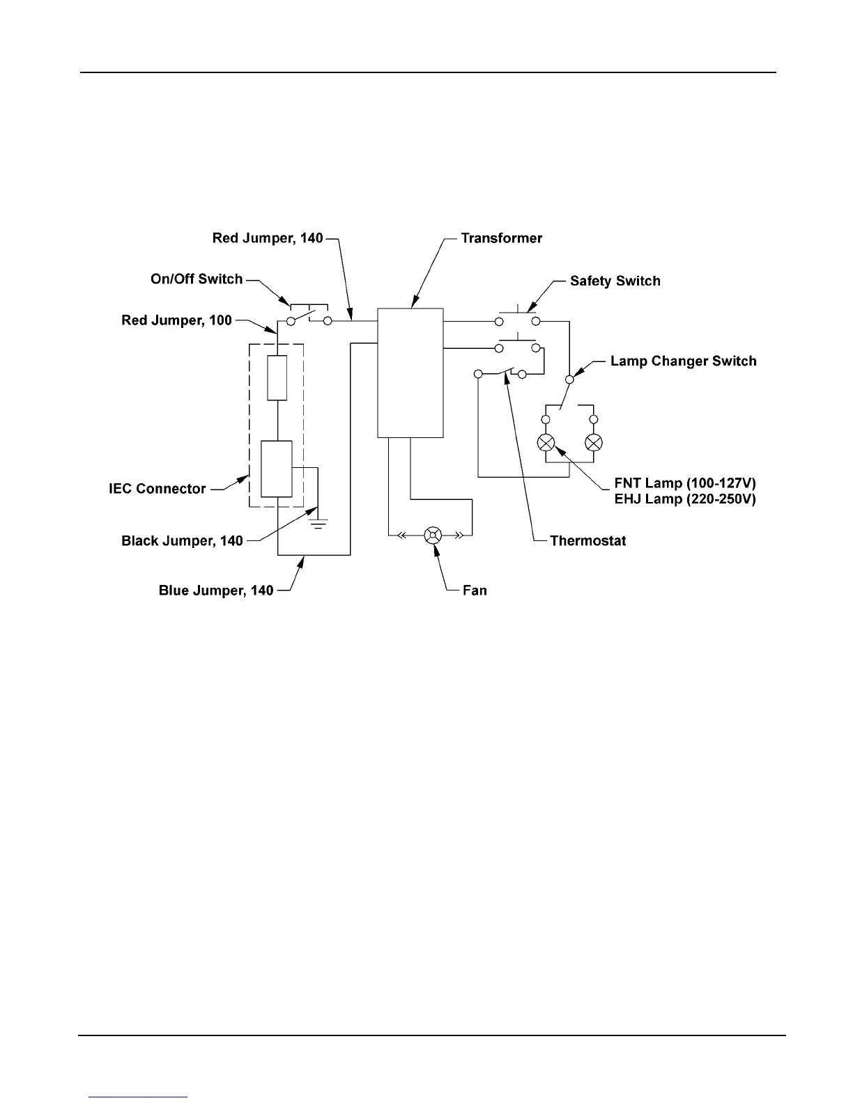
Figure 8. Wiring Components

Related product manuals