EasyManua.ls Logo

ABB E3S 20 - Page 83

ABB E3S 20
161 pages
Print Icon
To Next Page IconTo Next Page
To Next Page IconTo Next Page
To Previous Page IconTo Previous Page
To Previous Page IconTo Previous Page
Loading...
L2234
Emax
82/158
Model
Scale
Page No.
Doc. No.
Apparatus
1SDH000460R0002
L2778
If the power flow is in phase with the direction set on the relay, the output DFout is enabled (1).
Vice versa, if the power flow is out of phase, the output DBout is enabled (1).
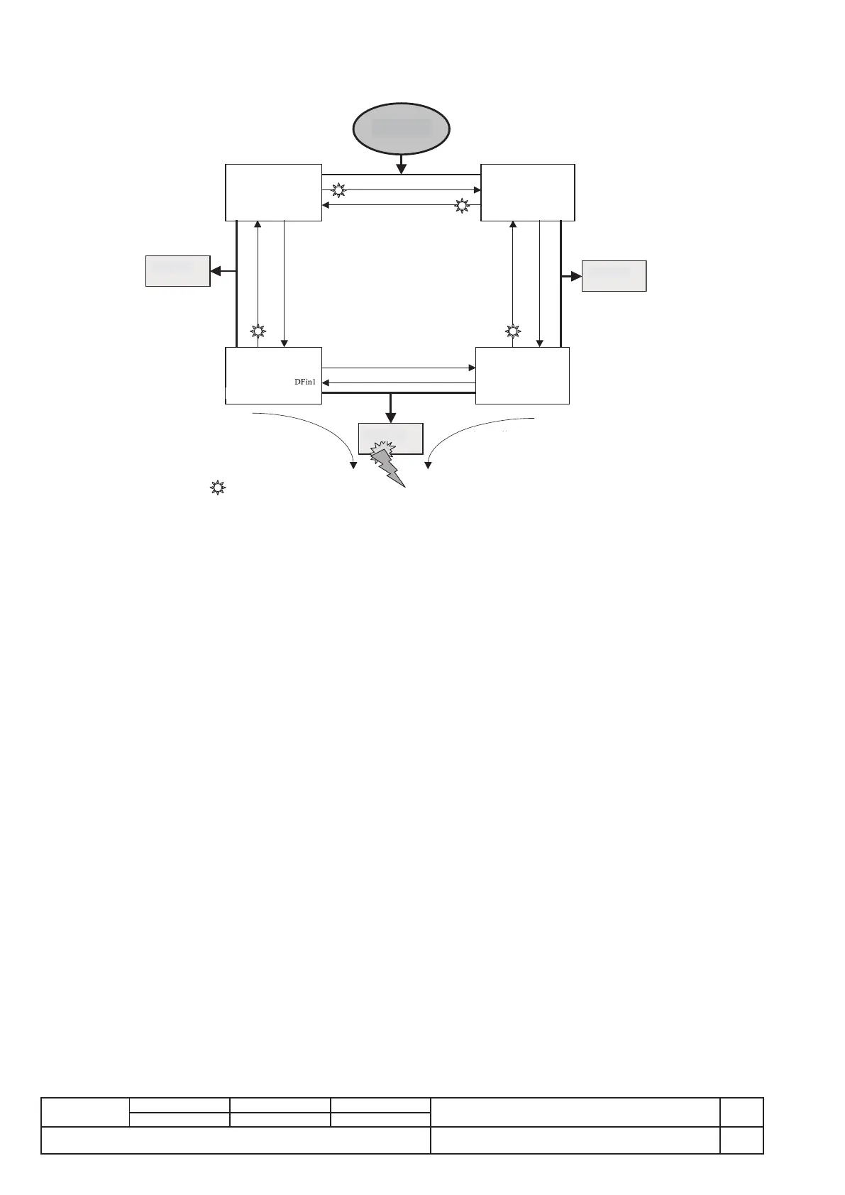
The typical configuration of the system of circuit-breakers for which the SdZ D is likely to be used is the sort of ring illustrated in the following
figure.
If a fault is detected (I fault If beyond the threshold I7) in one of the sections of the system (Load A), the final circuit-breakers for the section
in question (Relay1 and Relay2) communicate the presence of the fault to the connected circuit-breakers (Relay4 and Relay3) by setting the
output signals DFout or DBout depending on the direction of the current (DFout1=On, DB2out=On). To be more precise, the circuit-breakers
that limit the section affected by the fault see the direction of the fault current in different ways (Relay1=forward and Relay2=backward).
The circuit-breakers (Relay1 and Relay2) delimiting the section affected by the fault are tripped with the selectivity time ts, while the circuit-
breakers further away from the fault count down the time t7FW (Relay4) and t7BW (Relay3) without opening; in this way, the system is isolated,
in the time ts, to exclude the part affected by the fault.
The load A, where the fault has occurred, will be disconnected, but loads B and C will continue to be powered normally.
It should be noted that activation of the DBout3 output by the relay3 will have no effect on the relay4, because the latter is recording not an
out-of-phase (backward) fault current, but an in-phase (forward) current with the power flow defined previously by the user (Top -> Bottom).
Note:
- With zone selectivity enabled, if the direction of the power flow cannot be ascertained, the relay is tripped considering the lesser of the
programmed times between t7fw and t7bw, without enabling any outputs (DFout or DBout).
- If, for some reason, one of the circuit-breakers required to open does not do so, a specific function will activate the opening of the first circuit-
breaker immediately upstream from it, after a further 100ms approx. In the above example, if the circuit-breaker does not open with the relay1,
only the circuit-breaker with relay4 will open after a time ts+100ms.
- The SdZ D operates on the basis of the phase currents, not of the neutral.
14.2.9.5 Protection “I”
The protection is enabled/disabled from the menu.
In the case where zone selectivity "S" is active, during the trip of the relay for "I", the ZSO output signal is activated in any case to guarantee correct
operation of the relay on the supply side (and on the load side).
14.2.9.5.1 Start-up threshold “I”
The start-up function can be selected.
The function can be enabled from the menu on the protection "I" page.
The function behaves in exactly the same way as the protection "S" (see par. 14.2.9.2.2).
14.2.9.6 Protection against closing on short-circuit “MCR”
The MCR can be used to protect the system from any closing on short-circuit; it operates only when a Vaux or PR120/V is installed.
This protection goes on when the CB is closed, within a time window ranging from 40 to 500ms and with a threshold as set by customer, using
the same algorithm as protection I. This protection can be disabled and is an alternative to protection “I”.
This function can be activated through a hand-held PR010/T unit via an SD-Testbus2, SD-Pocket software or through a remote system via the system
bus.
This function has one single fixed-time protection curve.
Relè 2
Generatore
Carico C
Carico A
Carico B
Flusso di potenza
forward
Flusso di potenza
backward
DFout4
DFout1
DFout2
DFout3
DBin1
DBout1 DBin2
DFin4 DBout4
DBout2 DFin2
DBin3
DBin4
DFin3
DBout3
: Uscita attivata = 1
Guasto
Relè 4
Relè 3
Relè 1
Generator
Relay 3
Relay 2
Relay 4
Relay 1
Load C
Load C
Load A
Backward
power flow
Forward
power flow
Output enabled = 1
Fault

Table of Contents

Related product manuals