EasyManua.ls Logo

ABB SYN 5201 - Page 39

ABB SYN 5201
140 pages
Print Icon
To Next Page IconTo Next Page
To Next Page IconTo Next Page
To Previous Page IconTo Previous Page
To Previous Page IconTo Previous Page
Loading...
Operating Instructions SYN 5201/SYN 5202
Document No Art Part Language Revision page
abb
ABB Switzerland Ltd
3BHS109762 E01
en D 39
Template: CHIND Techn doc stand, A4 P de, R1.DOT; Filename: 3BHS109762E01 D.doc; Print: 12/6/2011 5:48:00 PM; Save: 12/1/2011 2:37:00 PM; CHIND No. 3BHS109763 ZAB D14 Rev. -; I-Q
d) Paralleling of asynchronous lines:
If two lines do not form a ring connection, the slip limits are restricted by the current
limit permitted after paralleling. If the flow of power in a particular direction is to be
avoided, the corresponding slip limit must be set to zero.
Angle limit, negative -max and positive +max
The permissible angle limit is based on different criteria, depending on the application:
a) paralleling of asynchronous sources.
b) paralleling of synchronous sources.
a) Paralleling of asynchronous sources:
The maximum permissible angle limit ±
max should generally be set symmetrically and
to 10 DEG.
If 3,6
*
fn
*
smax
*
t on+3 > 10 DEG, the value should be rounded up to whole degrees.
Setting values above 15 DEG are not usual. If the calculation produces such a result, it
should be checked whether the maximum slip can be reduced.
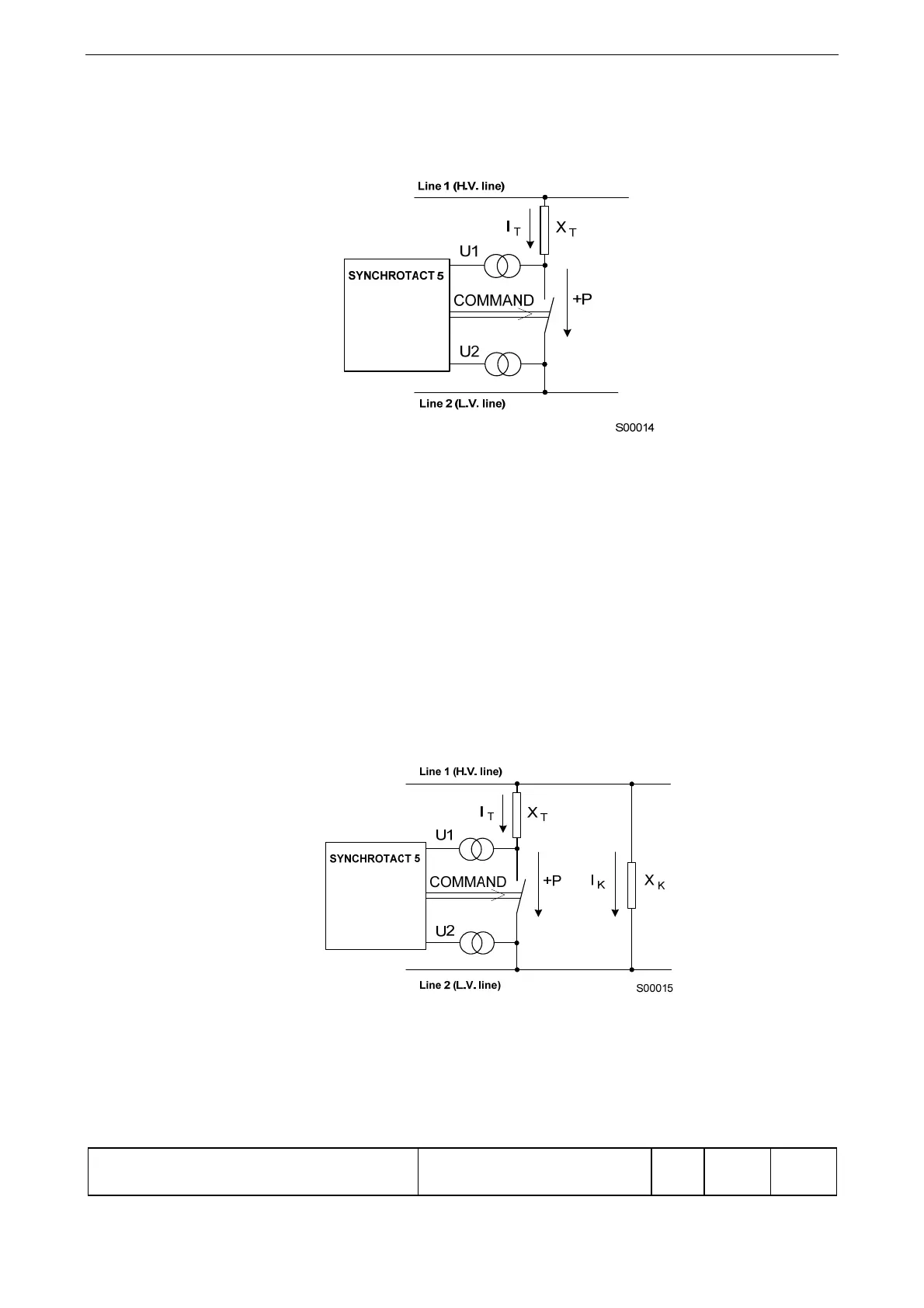
b) Paralleling of synchronous sources:
The coupling reactance x
K
in ring mains lines and the balancing current I
K
flowing
through these cause a phase shift between the two voltages U1 and U2.

Related product manuals